我们知道,肾功能衰竭时,可采用三种基本的治疗方式:肾脏移植、血液透析、腹膜透析,以上三种治疗方式是目前世界范围内广泛应用的。
虽然肾移植虽然是肾脏替代疗法中可使患者身体机能恢复的最佳治疗方法,但是由于器官供体短缺,大部分患者仍需要依赖血液透析疗法来维持生命,据不完全统计,目前约90%的终末期肾病(ESRD)患者都需要用到血液透析(HD)作为治疗方式。血液透析是在体外用透析机器对血液进行过滤的一种治疗。在血液透析过程中,血液从血管中抽出,经过一个滤器,称之为透析器。在这个透析器中,血液在回流至身体之前被净化,因此,这个透析器就是所谓的“人工肾”。血液透析通常是在一个透析中心进行,一般情况下每周三次,每次至少三个小时。临床透析治疗的一种替换方式就是在家中熟悉的环境下接受治疗。不同类型的家庭透析让患者能够以兼顾他们日常安排的方式接受治疗。结合如下示意图,血液透析工作过程为:通过将体内血液引流至体外,经一个由无数根空心纤维组成的透析器中,血液与含机体浓度相似的电解质溶液(透析液)在一根根空心纤维内外,通过弥散/对流进行物质交换,清除体内的代谢废物、维持电解质和酸碱平衡;同时清除体内过多的水分。

根据相关数据获悉,全球血液透析市场规模稳步增长,数据显示2020 年,全世界约有 370 万慢性肾功能衰竭患者接受治疗。
另外,根据Market Data Forecast调研显示,全球血液透析导管市场规模预计到2026年将增长8.3583亿美元,预测期间的复合年增长率为4.2%。以美国为例,2014-2025 年美国血液透析和腹膜透析市场分析数据可以从下文所得(数据单位为百万美元)。
于我国而言,根据全国血液净化病例信息登记系统(CNRDS)统计的资料显示:2016 年接受血液透析治疗的患者人数为44.7 万人,2019 年底已达到 63.3 万人,年均复合增长率达 12%。另一方面,我国新增终末期肾病患者人数也在迅速增长,从 2016 年至 2019 年底,新增患者数量的年复合增长率达 21%左右,这是推动我国血液净化行业未来增长的重要因素之一。预计到 2030 年我国终末期肾病患者(ESRD)人数将突破 300 万人。
笔者对血液透析相关技术发展路线进行了梳理,对血液透析领域总结了如下八项重大技术事件。需要强调的是,对于血液透析领域而言,其技术含量高,技术壁垒强,对于从事相关工作的企业IPR、代理人和审查员而言均具有较大挑战,因而只有对血液透析技术发展脉络熟练知悉才能对现有技术进行有效掌握,这是必须要做的工作。
血液透析第一次科学描述来自苏格兰化学家托马斯·格雷姆,他被称为“透析之父”,目前所使用的透析原理和程序也正是建立在开创性工作基础之上,下图为托马斯·格雷姆于1854年发表的学术信息。

血液透析这类手术的第一个历史描述发表于1913年。阿贝尔、朗特里和特纳对麻醉动物进行“透析”,将它们的血液引导到体外,并通过由火棉胶(一种基于纤维素的材料)制成的半透膜管。目前还无法确定阿贝尔和他的同事们是否打算从一开始就用这种方法治疗肾衰竭。然而,毫无疑问,今天的透析治疗仍然使用阿贝尔活体扩散机的主要元件。
阿贝尔等还意识到,在血液通过“透析器”之前,必须至少具有暂时抑制血液凝结或共凝的能力。阿贝尔和他的同事们使用了一种称为水蛭素的物质,这种物质在1880年被鉴定为从水蛭唾液中获取的抗凝血元素。

德国医生格奥尔格·哈斯进行了首例涉及人类的透析治疗。从1924年夏天到1928年,哈斯对7名患者进行了透析,但都没有存活下来,可能是因为患者病情危重,透析治疗效果不佳。哈斯采用的透析器也使用火棉胶膜,有多种型号和尺寸。
哈斯和阿贝尔一样,在他的第一次透析治疗中也使用水蛭素作为抗凝剂。然而,由于当时该物质未得到充分纯化且来源于一个与人类相距甚远的物种,因此常导致过敏反应引起的大量并发症。最后,哈斯在他的第七个也是最后一个实验中使用了肝素。肝素是哺乳动物常用的抗凝剂。与水蛭素相比,这种物质引起的并发症要少得多。随着肝素更好的纯化方法的发展,肝素被用作必要的抗凝血剂,并一直持续使用到今天。

哈斯进行透析治疗的照片
1945年秋天,荷兰的威廉·科尔夫取得了突破性的进展。科尔夫使用自己研发的转鼓人工肾对一名因急性肾衰竭入院的67岁患者进行了为期一周的透析治疗。该患者随后出院,肾功能正常。该事件是在治疗肾病患者方面的第一个重大突破。
威廉·科尔夫成功的部分原因是用于治疗的实际设备的技术改进。科尔夫的转鼓肾使用膜管,膜管是由一种新的纤维素材料制成的,这种材料被称为玻璃纸。在治疗期间,充满血液的管子被包裹在一个木制滚筒上,滚筒在一种被称为“透析液”的电解质溶液中旋转。当膜管通过时,能够导致尿毒症毒素进入冲洗液。

科尔夫1943年研制成功的转鼓式透析装置
科尔夫旋转鼓透析装置跨越大西洋,到达波士顿的彼得·布伦特·布里格姆医院,在那里他们经历了重大的技术改进。这些改良的机器被称为科尔夫-布里格姆人工肾,在1954年至1962年间,这些机器被从波士顿运往世界各地的22家医院。
科尔夫-布里格姆人工肾此前还在朝鲜战争期间的极端条件下通过了实际测试。透析治疗成功地提高了遭受创伤后肾衰竭的士兵的平均存活率,从而为额外的医疗程序赢得了时间。

科尔夫-布里格姆人工肾在战争时的工作照片
随着技术发展,人们意识到,除了过滤尿毒症毒素外,天然肾脏最重要的功能之一是清除多余的水分。当肾脏衰竭时,这种功能必须由人工肾脏接管,因此人工肾脏也被称为透析器。利用压力将患者血浆挤压通过透析膜的过程称为超滤。
1947年,瑞典人尼尔斯·阿尔沃尔发表了一篇科学著作,描述了一种改良的透析器,它可以比最初的科尔夫肾更好地实现透析和超滤的必要结合。这种透析器中使用的玻璃纸膜可以承受更高的压力,因为它们位于两个保护性金属格栅之间,所有的膜都在一个紧密密封的圆筒里,这样就可以产生不同的压力比。

阿尔沃尔于1946年完成的透析器示意图
通过证明尿毒症患者可以使用人工肾成功治疗,科尔夫在世界各地引发了一系列活动,以开发更好、更有效的透析器。“平行板透析器”是这一时期最重要的发展。这种透析器不是将血液泵入膜管,而是引导透析液和血液流过交替的膜性材料层。这一发展始于1948年第一台Skegg-Leonards透析器完成,并在1960年随着挪威医生Fredrik Kiil对Kiil透析器的发明而达到技术高峰。这些透析器是现代平板透析器的前身。随着透析器技术的不断发展,关于物质跨膜运输的科学原理也在不断发展,这些原理特别适用于透析。这项工作使科学家能够开发透析过程的定量描述,并允许开发具有明确特征的透析器。

早期的Kiil透析器示意图
贝尔丁·斯克里布纳于1960年在“透析分流”这一领域取得了突破,发展了后来被称为“斯克里布纳分流术”的技术。这种新方法提供了一种进入患者循环系统的相对简单的方法,可以使用几个月,这意味着慢性肾病患者可以首次接受透析治疗。分流管在一个小平板上,该平板将附着在患者的身体上,例如手臂上。一个特氟隆套管通过手术植入静脉,另一个植入动脉。在体外,套管连接成一个循环短路——因此得名“分流管”。在透析过程中,分流器将被打开并连接到透析器上。进一步的发展带来了1962年引进的完全由柔性材料制成的改进型分流器。
尽管如此,血管通路领域最具决定性的突破还是来自于1966年的迈克尔·布雷西亚和詹姆斯·西米诺。他们的工作对今天的透析仍然至关重要。在手术过程中,他们将手臂上的动脉与静脉相连。静脉通常不暴露于高动脉血压下,并且明显突出。然后,针头可以更容易地放在皮肤下面的静脉中,以允许重复进入。这项技术降低了感染的风险,并允许在几年内进行透析治疗。
当时,动静脉瘘仍然是透析患者的首选通道,一些30多年前植入的动静脉瘘至今仍在使用。这一进展使得慢性肾衰竭患者能够得到长期治疗。1960年春天,斯克里布纳在西雅图的美国克莱德·希尔兹植入了一个分流管。希尔兹成为第一个慢性血液透析患者,透析治疗使他在1971年死于心脏病之前又多活了11年。
这些成功为世界上第一个慢性血液透析项目提供了肥沃的基础,该项目于随后几年在西雅图建立。需要特别说明的是,斯克里布纳和他的团队将他们的许多发明和创新放弃了专利保护途径,以能够确保迅速向透析患者分发他们的救生技术。

在西雅图取得早期成功后,血液透析成为全世界慢性和急性肾衰竭的首选治疗方法。膜、透析器和透析机在工业上不断改进和制造,数量不断增加。向前迈出的一大步是1964年第一个中空纤维透析器的开发,1967年Lipps把醋酸纤维拉成空心纤维,制成第一支空心纤维透析器,这些技术用许多毛细管大小的中空膜取代了当时传统的膜管和平膜。该技术允许生产表面积足够大的透析器,以满足有效透析处理的要求。在随后的几年里,由于适当的工业制造技术的发展,以合理的价格生产大量一次性透析器成为可能。如今,透析器由合成聚砜制成,这种塑料对患者表现出特别好的过滤效率和耐受性,我们目前仍然基于这些技术。

早期中空纤维透析器示意图
由于血液净化设备属于技术密集型、人才密集型的高技术行业,产品研发难度大、周期长、准入门槛高、监管严,需要投入大量的研发人员和研发资金,对企业的资金、技术和人才要求极高,内资企业市场参与较少。目前中国血液透析机市场份额仍主要依赖于进口产品血透机,主要为欧美系和日系血透机。根据相关数据,2020 年国内血液透析机销量,以费森尤斯 30%的市场份额位居榜首,费森尤斯、贝朗、德维特、百特、日机装以及尼普洛等多家大外资厂商占据了国内血液透析市场 80%-90%左右的市场份额,目前我国血液透析机的市场集中度高,市场份额主要被进口厂商占据,国产自主品牌的血液透析机市场占有率仅在 10%-20%左右,集中于广州暨华、重庆山外山、重庆澳凯、威高医疗、江苏朗生等。显然血液透析设备领域亟需加速进口替代的步伐。需要特别说明的是,对于血透医疗器械,笔者对国内外各大厂家均进行了详细研读和分析,形成了卓有成效的工作成果,基于篇幅原因,本篇文章笔者着重以血透王者—费森尤斯为例,对血透医疗器械相关专利情况进行简要说明,如若获取完整血透医疗器械专利清单与专利分析可以与笔者取得联系,共同交流学习。
下图给出了费森尤斯-血透净化系统所涉及的专利的申请情况。可以清晰得知,从其专利申请情况,我们能够对费森尤斯血液净化市场的霸主第一窥探一二。

下面给出了费森尤斯-血透净化系统专利布局情况,可以非常明确得到费森尤斯-血透系统的专利地域布局情况,其专利申请目标国主要聚集于美国、欧洲、日本、我国等区域性中心国家或地区。

下图给出了费森尤斯-血透净化系统相关专利的技术词云情况,从该技术词云可以很明了的得到费森尤斯-血透净化系统相关专利的技术分布情况。下图给出了费森尤斯-血透净化系统相关专利的专利地图情况,从该专利地图可以很明了的得到费森尤斯-血透净化系统相关专利的技术分支情况。

对于费森尤斯-血透系统技术分解,笔者通过如下视频向各位读者进行展示(温馨提示:该视频有背景音乐):
来源:费森尤斯
根据相关技术分解,笔者从费森尤斯-血透系统涉及的相关专利中分别从机器系统、透析过滤器、水处理技术以及收购的NxStage等四个角度择机选择了4组专利进行了解析,相关结果如下:需要特别说明的是,如若获取完整专利清单与专利分析可以与笔者取得联系,共同交流学习:
| | | |
| System and method for conducting hemodialysis and hemofiltration |
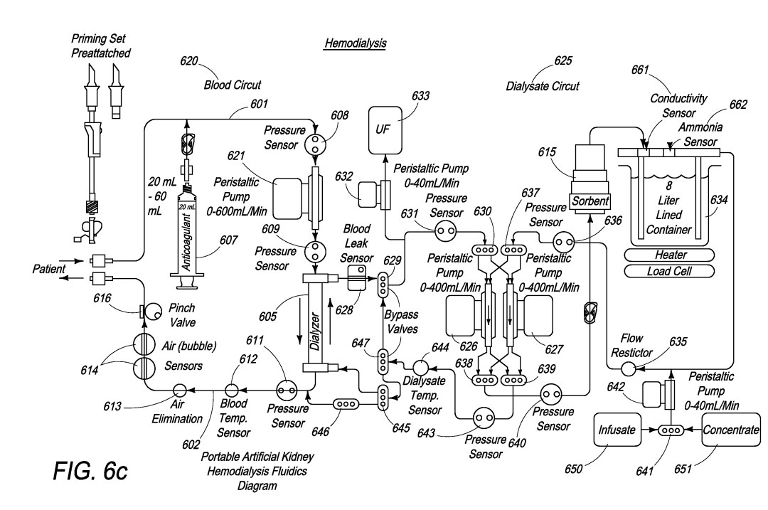
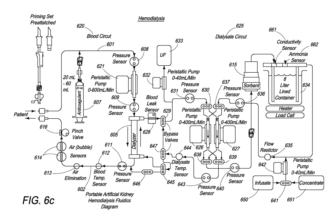
| Hemodialysis is used for removing toxic wastes from the human body in cases of renal failure, and involves using an artificial kidney in conjunction with an associated machine. The patient's blood is temporarily brought outside of the body with the help of tubes and passed through at least one semipermeable membrane, which may be a group of hollow fibers, in an artificial kidney, also called a dialyzer. The semi permeable membrane separates the blood from dialysate solution. The impurities from the blood pass through the membrane and into the dialysate solutions primarily by osmotic pressures. The cleansed blood is then returned to the body. During this procedure it is also necessary to remove excess fluids from the body. This is accomplished by a process known as ultrafiltration. In this process, fluid is removed from the patient by taking the fluid off through the dialyzer via convection and discarding it. The amount of ultrafiltrate which is removed from the body is normally controlled by the pressure across the semipermeable membrane. This transmembrane pressure is the result of the differential between the blood pressure and the pressure which exists on the dialysate side of the membrane. |
| An extracorporeal blood processing system comprises a plastic molded compact manifold that supports a plurality of molded blood and dialysate fluidic pathways along with a plurality of relevant sensors, valves and pumps. A disposable dialyzer is connected to the molded manifold to complete the blood circuit of the system. The compact manifold is also disposable in one embodiment and can be detachably installed in the dialysis machine. Two-way valves in the manifold are used to direct the dialysate flow to the dialyzer in hemodialysis mode of operation and to bypass the dialyzer to direct the flow of infusion grade dialysate directly to the patient in hemofiltration mode of operation. |
|  |
| | | |
| |
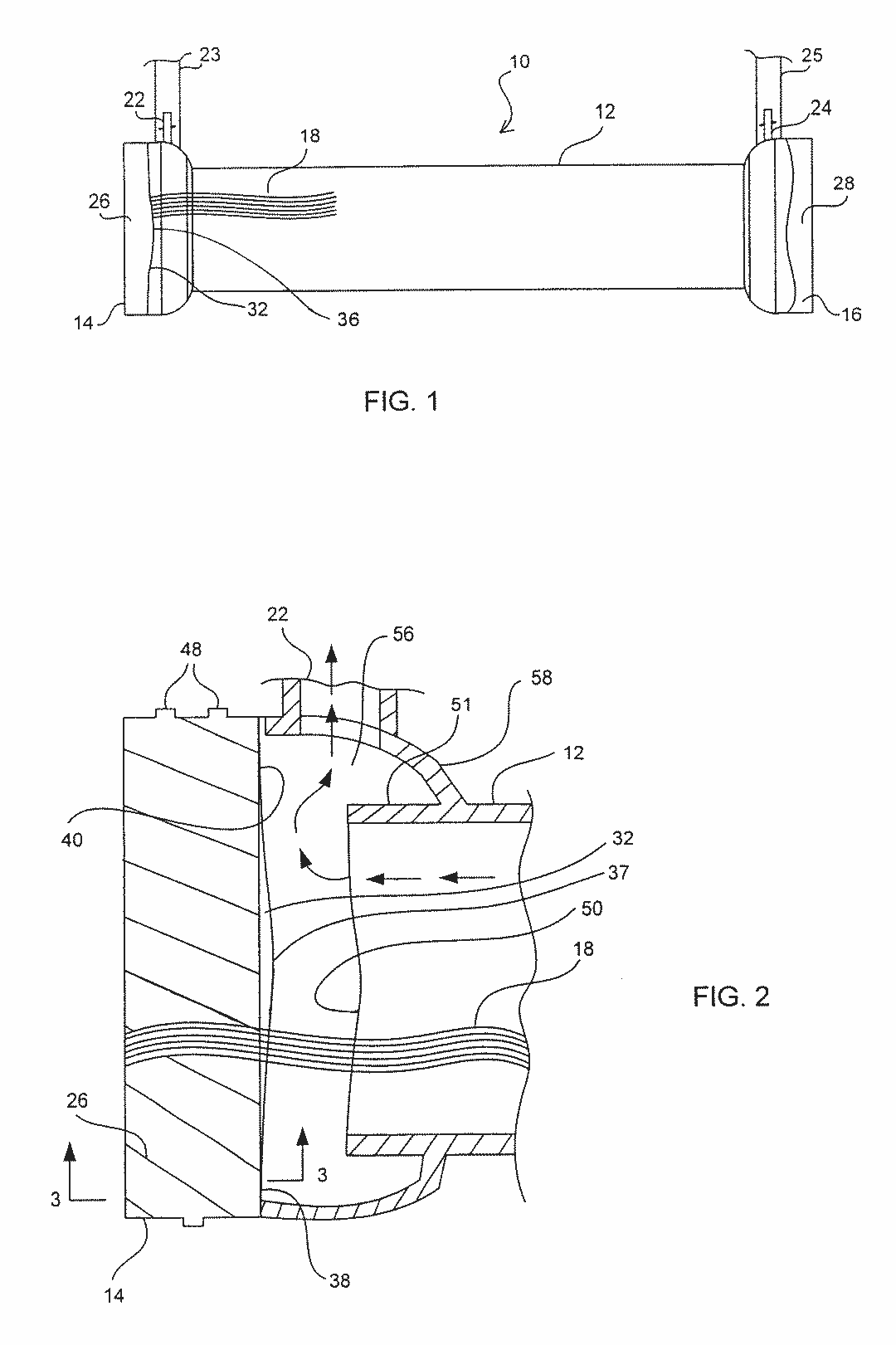
| Dialyzers often use a large number of microfibers encased in a chamber. The chamber is often a hollow cylinder open at both ends. Thousands of hollow semipermeable microfibers carry blood from one end to the opposite end so that blood flows through the microfibers in a first direction. Dialysate ports are also present on opposite ends of the chamber. One port carries dialysate into the chamber, the dialysate flows through the chamber in a countercurrent direction to the blood flow, and the other port carries the dialysate out of the chamber. The solute removal thus takes place across the semipermeable membrane that is the microfiber wall. This design produces a high surface area for solute removal in a relatively low volume device. |
| A dialyzer design that includes a potting material encasing a microfiber bundle in each end of a cylindrical body. The potting material is set by spinning the dialyzer in a centrifuge to force the potting material to the ends of the dialyzer interior chamber, where it sets with a non-planar surface. Dialysate fluid distribution rings define a space between the dialyzer interior chamber and dialyzer inlet and outlet ports, and laterally support the microfiber bundle against the dialysate fluid flow pressure. The dialysate fluid distribution ring circumferential edge substantially conforms to the non-planar potting material surface, to ensure that the lateral support to the microfiber bundle is constant, thereby lessening distortion, rupturing and obstruction of the microfibers. |
| |
| | | |
| Supply device for dialysis apparatuses |
| A conventional waste-water outlet has serious drawbacks: it sprays and splashes, which is a real noise nuisance for the patients, it has an unpleasant odor and is unhygienic, it tends to form residues, and it is difficult to take a sample in the form of small paper-like rods, e.g. for testing chemical residues after disinfection of the connected apparatus with the help of small test rods. |
| The supply device for dialysis apparatuses, comprising a permeate line and at least one concentrate line for supplying permeate and dialysis concentrate(s) to a dialysis apparatus to be mixed so as to obtain dialysis liquid, and comprising a waste water line for discharging waste water out of the dialysis apparatus, is characterized in that the waste water line is in communication with a substantially funnel-shaped outlet container into which the waste water falls in a free fall, thereby impinging on an inclined wall section of the outlet container. Virtually no noise is created that would be noticed by a patient, and a pivotable door is preferably arranged at the outlet container for permitting the taking of samples in an easy way from the outlet container by means of small test rods. |
| |
| | | |
| Devices for potting a filter for blood processing |
| Membranes or filters used in hemofiltration, hemodialysis, hemodiafiltration, apherisis, hemoconcentration, and hemo-ultrafiltration are prepared in a similar fashion. Potting material, such as polyurethane, is used to bond the membrane fibers within the dialyzer housing. However, even distribution of the potting material along the filter capillaries is difficult to achieve. |
| A device for potting a filter is described. The device comprises a housing having a first hole in the first region communicating between the surface and the lumen, and a second hole in the second region communicating between the surface and the lumen. A ridge extends around the first hole and the second hole to define a trough for receipt of a flowable potting material. During the manufacture of the filter assembly, the housing is rotated about an axis that bisects the housing and is perpendicular to an axis of the lumen, a flowable material is placed on the surface of the housing, a portion of the flowable material flows toward the first hole, is retained by the ridge, and passes through the first hole, and a portion of the flowable material flows toward the second hole, is retained by the ridge, and passes through the second hole. |
| |
目前,对于血液透析医疗器械而言,依然以费森尤斯、贝朗、百特以及尼普洛等国外企业为主,上述企业基本垄断了国内市场,不过随着国内重视程度不断提高的情况下,中国公司蓄势待发,在一片被普遍看好的市场中开始暗流涌动,随着各个“卡脖子”技术不断攻克,国产血液透析医疗器械一定会在近几年实现重大突破和问世。目前,国内各大血液透析医疗器械领域医疗厂商还会将费森尤斯、贝朗、百特、尼普洛等重要竞品作为标杆和对照,但是随着各大国内厂商联动产学研医生多方力量,不断创新,必将推动中国血液透析医疗器械业更智能化、精准化、便携化的发展,也会逐步摆脱国外竞品带来的压力和技术障碍,不过,国外巨头公司和国内新兴企业在知识产权方面布局更加紧密,血液透析医疗器械赛道上的各个国内厂商之间的竞争也会逐渐激烈,届时相关知识产权问题也必将会成为各大血液透析医疗器械厂商的研究重点课题,后续相关产品的的研发和专利事务值得持续关注。医疗IP君,知识产权学者。联系方式:13402588726