专利数据库
统计分析
产业报告
专利数据监控
产业人才
行业动态
产业政策法规
维权援助
个人中心
详情
文本
图像
标题
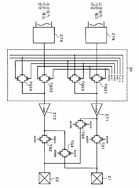
액정 표시 장치
授权日
1900-01-01
公开(公告)号
KR1020010015252A
申请日
2000-07-08
公开(公告)日
2001-02-26
当前申请(专利权)人
가부시키가이샤 히타치세이사쿠쇼 | 히타치 디바이스엔지니어링 가부시키가이샤
发明人
이또우시게루 | 가따오까노보루 | 오구라아끼라
简单同族
JP2001022328A | JP3681580B2 | KR100343922B1 | KR1020010015252A | TW550532B | US6529180
简单同族成员数量
6
简单同族被引用专利总数
97
诉讼案件数
0
法律状态/事件
期限届满 | 权利转移
抱歉,您的浏览器不支持PDF预览,请点击链接下载PDF文件