专利数据库
统计分析
产业报告
专利数据监控
产业人才
行业动态
产业政策法规
维权援助
个人中心
详情
文本
图像
标题
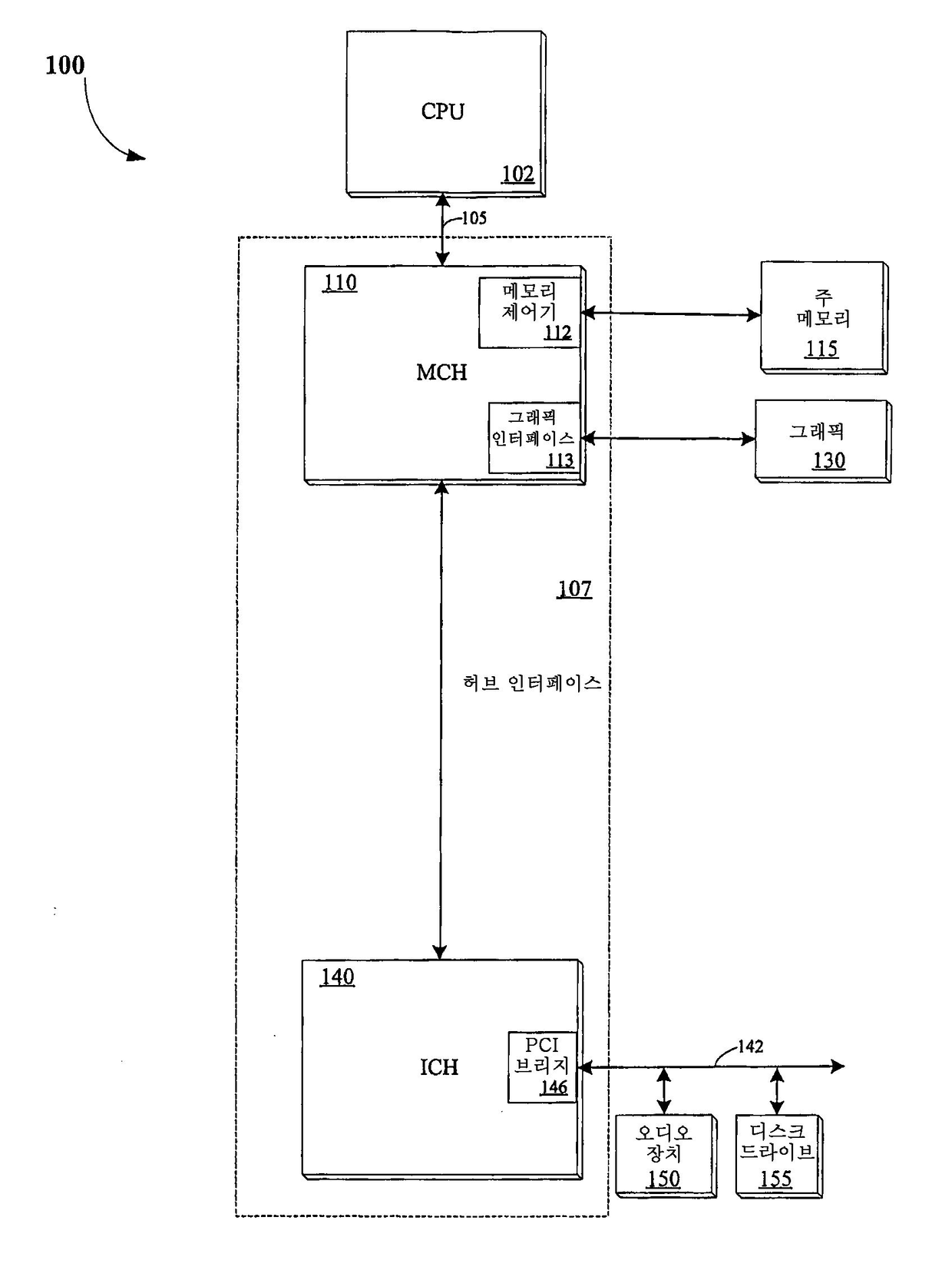
휘도 제어를 통한 액정 디스플레이(LCD) 패널 전력관리의 실시간 동적 설계
授权日
1900-01-01
公开(公告)号
KR1020050097546A
申请日
2004-01-07
公开(公告)日
2005-10-07
当前申请(专利权)人
인텔 코포레이션
发明人
쿠이,잉 | 젠센,리차드 | 와이어트,데이비드 | 쿠치브호틀라,베누 | 사드하시반,새씨야무르씨 | 위터,토드
简单同族
CN100483500C | CN1521723A | EP1593111A2 | JP2006517303A | JP2006517303A5 | JP4732171B2 | KR100866424B1 | KR1020050097546A | TW200416648A | TWI270838B | US20040160435A1 | US7348957 | WO2004075155A2 | WO2004075155A3
简单同族成员数量
14
简单同族被引用专利总数
160
诉讼案件数
0
法律状态/事件
授权
抱歉,您的浏览器不支持PDF预览,请点击链接下载PDF文件