专利数据库
统计分析
产业报告
专利数据监控
产业人才
行业动态
产业政策法规
维权援助
个人中心
详情
文本
图像
标题
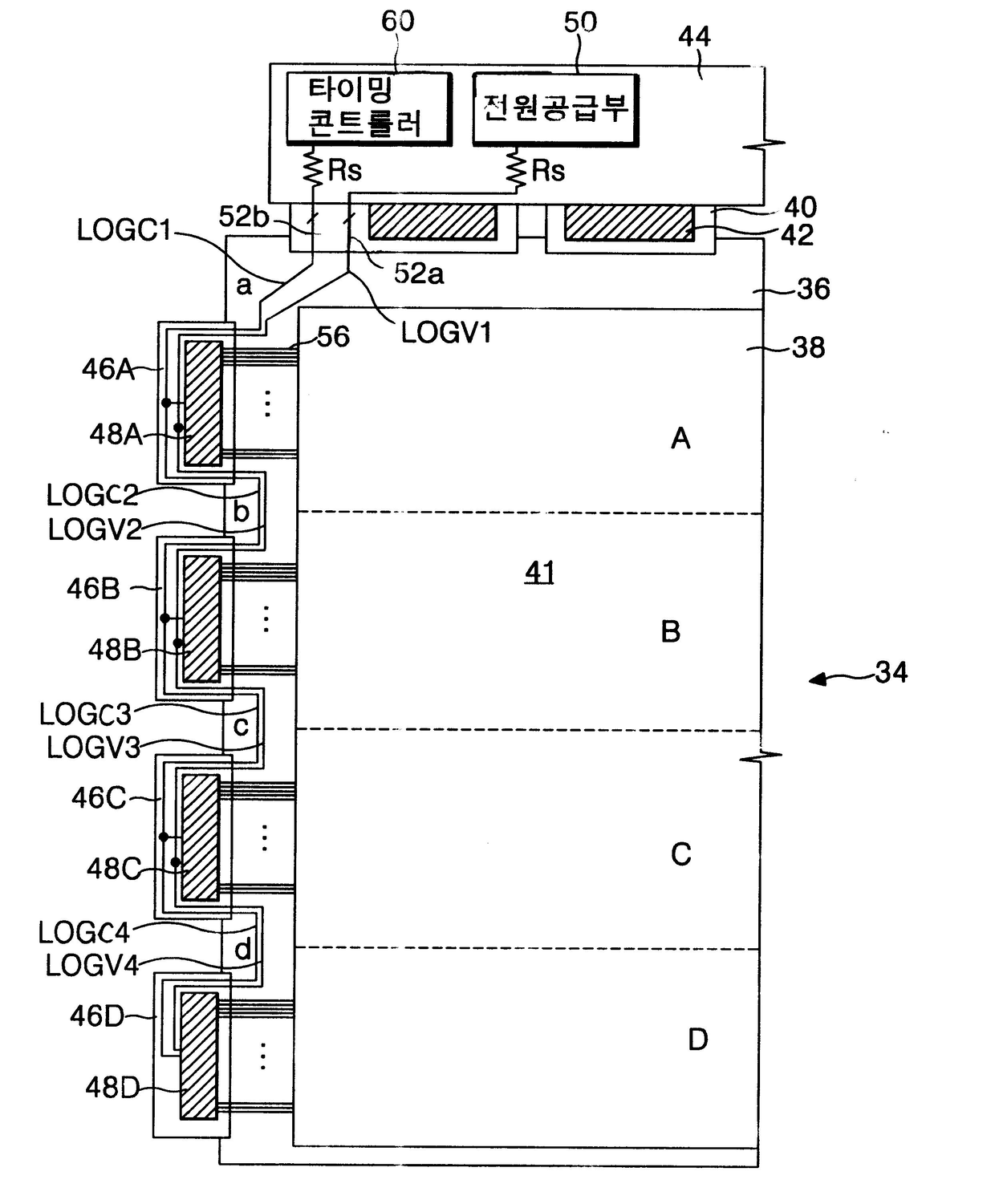
액정표시장치 및 그 구동방법
授权日
1900-01-01
公开(公告)号
KR1020040033368A
申请日
2002-10-14
公开(公告)日
2004-04-28
当前申请(专利权)人
엘지디스플레이 주식회사
发明人
송상무 | 김상래 | 박재홍
简单同族
JP2004133474A | JP3920837B2 | KR100898784B1 | KR1020040033368A | US20040145552A1 | US20070195035A1 | US20070195036A1 | US7224353 | US7750888 | US7830371
简单同族成员数量
10
简单同族被引用专利总数
87
诉讼案件数
0
法律状态/事件
授权
抱歉,您的浏览器不支持PDF预览,请点击链接下载PDF文件