专利数据库
统计分析
产业报告
专利数据监控
产业人才
行业动态
产业政策法规
维权援助
个人中心
详情
文本
图像
标题
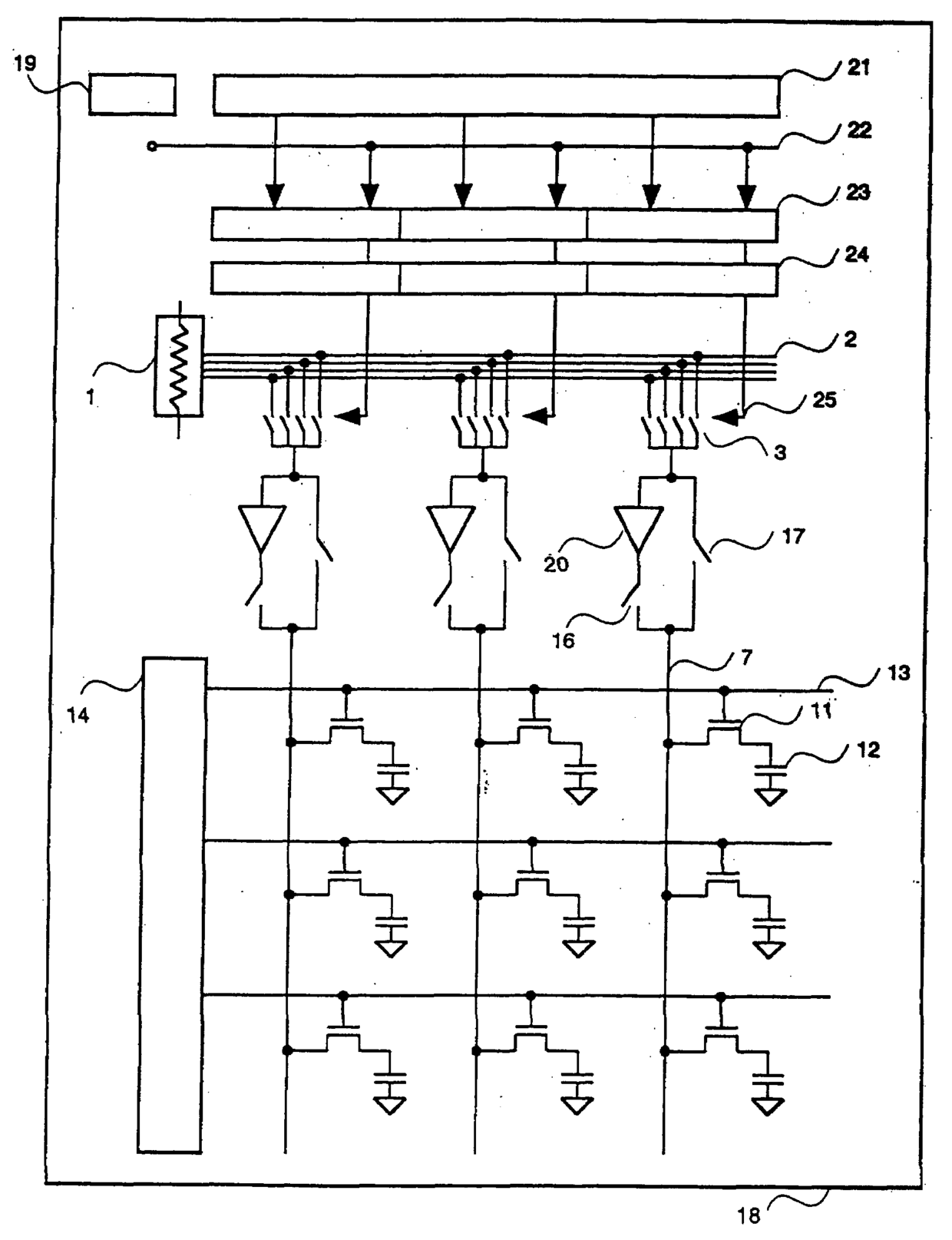
화상표시장치
授权日
2007-03-02
公开(公告)号
KR100692289B1
申请日
2000-02-10
公开(公告)日
2007-03-09
当前申请(专利权)人
가부시키가이샤 히타치세이사쿠쇼
发明人
아키모토하지메 | 미카미요시로
简单同族
JP4089227B2 | JPWO2001059750A1 | KR100692289B1 | KR1020020095163A | TW486686B | US6756962 | WO2001059750A1
简单同族成员数量
7
简单同族被引用专利总数
76
诉讼案件数
0
法律状态/事件
未缴年费 | 权利转移
抱歉,您的浏览器不支持PDF预览,请点击链接下载PDF文件