专利数据库
统计分析
产业报告
专利数据监控
产业人才
行业动态
产业政策法规
维权援助
个人中心
详情
文本
图像
标题
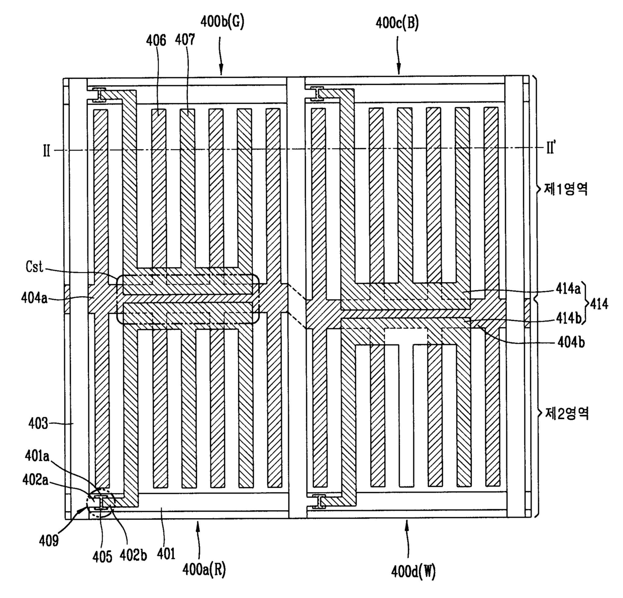
횡전계방식 액정표시소자 및 그 제조방법
授权日
2011-09-20
公开(公告)号
KR101068019B1
申请日
2003-10-29
公开(公告)日
2011-09-26
当前申请(专利权)人
엘지디스플레이 주식회사
发明人
BAEK,HEUMEIL
简单同族
CN100354737C | CN1612024A | JP2005134914A | JP4209378B2 | KR101068019B1 | KR1020050040620A | US20050094077A1 | US7333170
简单同族成员数量
8
简单同族被引用专利总数
70
诉讼案件数
0
法律状态/事件
授权
抱歉,您的浏览器不支持PDF预览,请点击链接下载PDF文件