专利数据库
统计分析
产业报告
专利数据监控
产业人才
行业动态
产业政策法规
维权援助
个人中心
详情
文本
图像
标题
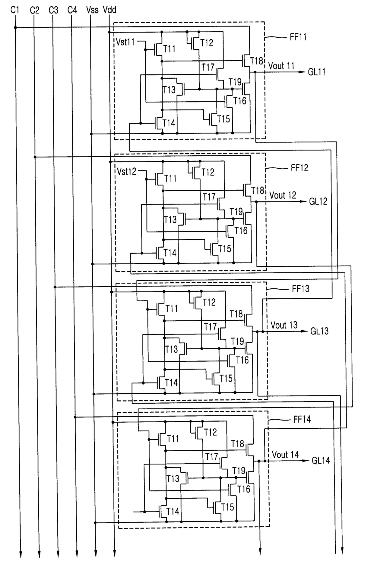
액정표시장치의 구동부
授权日
1900-01-01
公开(公告)号
KR1020060078504A
申请日
2004-12-31
公开(公告)日
2006-07-05
当前申请(专利权)人
엘지디스플레이 주식회사
发明人
조혁력 | 윤수영 | 전민두
简单同族
KR101191157B1 | KR1020060078504A | US20060145998A1 | US8384648
简单同族成员数量
4
简单同族被引用专利总数
79
诉讼案件数
0
法律状态/事件
授权
抱歉,您的浏览器不支持PDF预览,请点击链接下载PDF文件