专利数据库
统计分析
产业报告
专利数据监控
产业人才
行业动态
产业政策法规
维权援助
个人中心
详情
文本
图像
标题
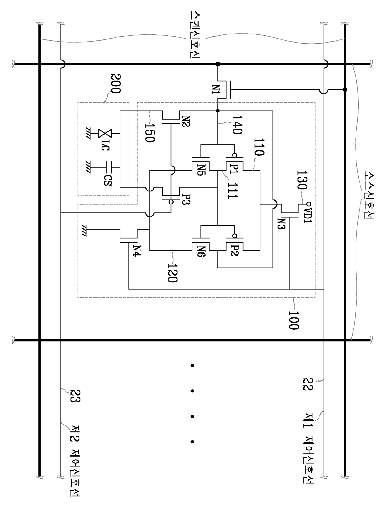
저전력 액정 표시 장치
授权日
2007-12-03
公开(公告)号
KR100783695B1
申请日
2000-12-20
公开(公告)日
2007-12-07
当前申请(专利权)人
삼성전자주식회사
发明人
이형곤 | 박용구
简单同族
JP2002229526A | JP4762431B2 | KR100783695B1 | KR1020020050018A | TW538297B | US20020075252A1 | US7095391
简单同族成员数量
7
简单同族被引用专利总数
54
诉讼案件数
0
法律状态/事件
授权 | 权利转移
抱歉,您的浏览器不支持PDF预览,请点击链接下载PDF文件