专利数据库
统计分析
产业报告
专利数据监控
产业人才
行业动态
产业政策法规
维权援助
个人中心
详情
文本
图像
标题
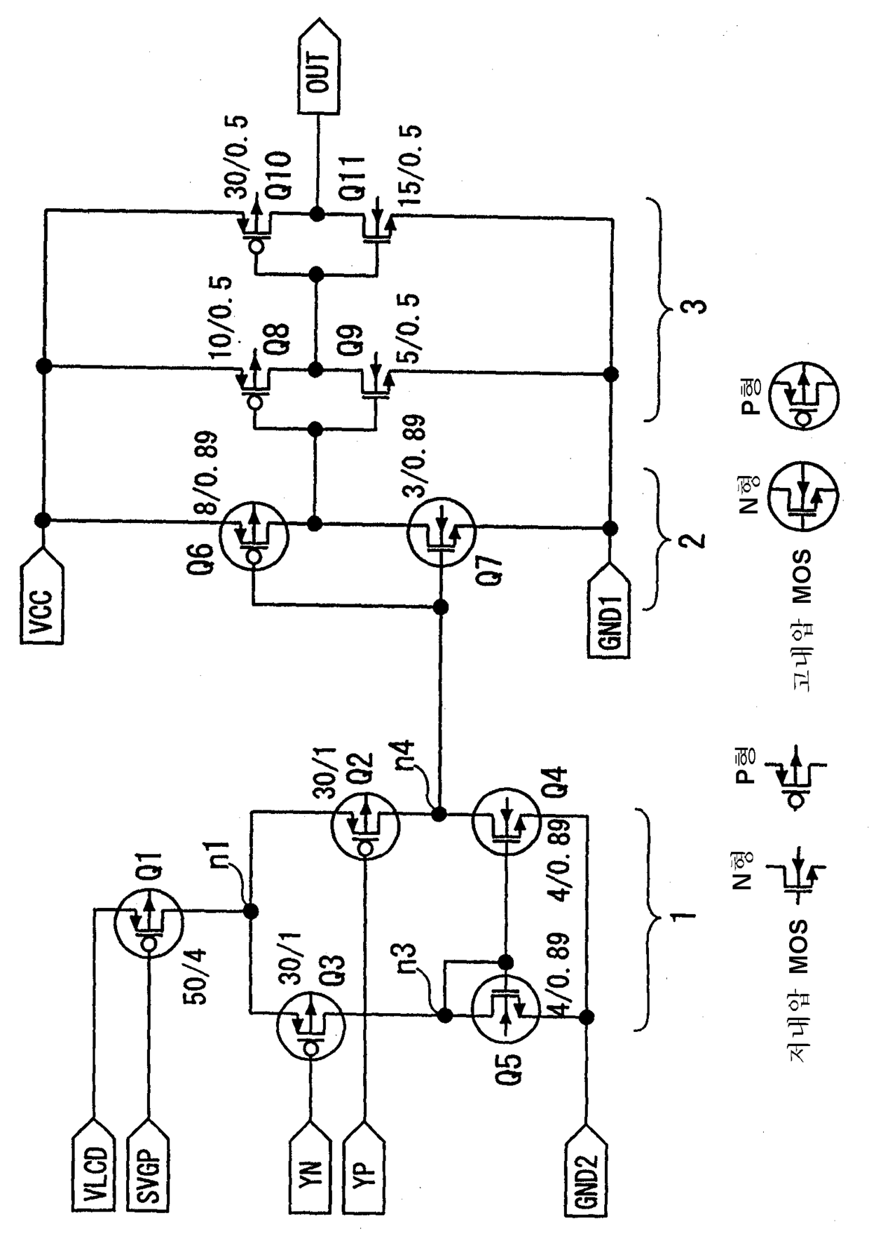
반도체집적회로, 액정구동장치 및 액정표시 시스템
授权日
2008-04-30
公开(公告)号
KR100828225B1
申请日
2001-10-25
公开(公告)日
2008-05-07
当前申请(专利权)人
가부시키가이샤 히타치세이사쿠쇼 | 히타치 디바이스엔지니어링 가부시키가이샤 | 가부시키가이샤 히타치초에루.에스.아이.시스테무즈
发明人
긴조아라타 | 오오카도카즈오 | 코테라코이치 | 오다히토시 | 엔도마수히로
简单同族
CN100583216C | CN1479913A | JP2011002841A | JP3934551B2 | JPWO2002047063A1 | KR100828225B1 | KR1020030065532A | US20050146493A1 | US20070279357A1 | US20070279358A1 | US20070279404A1 | US7405732 | US8094104 | WO2002047063A1
简单同族成员数量
14
简单同族被引用专利总数
58
诉讼案件数
0
法律状态/事件
放弃
抱歉,您的浏览器不支持PDF预览,请点击链接下载PDF文件