专利数据库
统计分析
产业报告
专利数据监控
产业人才
行业动态
产业政策法规
维权援助
个人中心
详情
文本
图像
标题
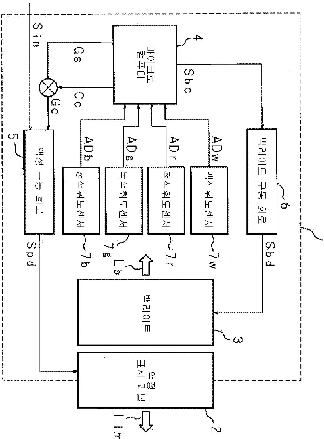
액정 표시 장치의 경년 변화 보상 방법, 액정 표시 장치의 경년 변화 보상 장치, 컴퓨터 프로그램 및 액정 표시 장치
授权日
1900-01-01
公开(公告)号
KR1020060103528A
申请日
2004-11-17
公开(公告)日
2006-10-02
当前申请(专利权)人
에이조 가부시키가이샤
发明人
사쿠다,준지
简单同族
EP1705634A1 | EP1705634A4 | JP3974629B2 | JPWO2005050613A1 | KR100741024B1 | KR1020060103528A | US20070091055A1 | WO2005050613A1
简单同族成员数量
8
简单同族被引用专利总数
98
诉讼案件数
0
法律状态/事件
未缴年费
抱歉,您的浏览器不支持PDF预览,请点击链接下载PDF文件