专利数据库
统计分析
产业报告
专利数据监控
产业人才
行业动态
产业政策法规
维权援助
个人中心
详情
文本
图像
标题
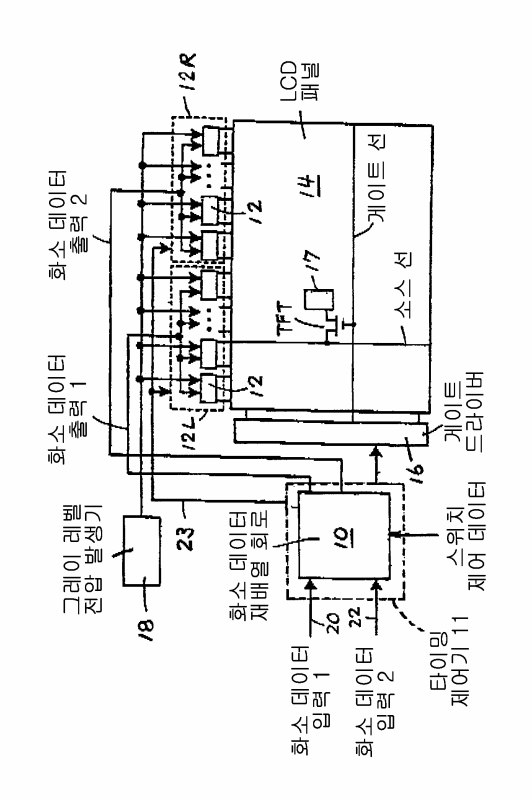
입력 화소 데이터 재배열 회로를 구비한 액정 표시 유닛
授权日
1900-01-01
公开(公告)号
KR1020020081094A
申请日
2002-04-16
公开(公告)日
2002-10-26
当前申请(专利权)人
엔엘티 테크놀로지 가부시키가이샤
发明人
이토마사히로 | 타카미카즈히코 | 오쿠조노노보루
简单同族
JP2002311913A | JP4875248B2 | KR100470758B1 | KR1020020081094A | TW582001B | US20020149550A1 | US7030852
简单同族成员数量
7
简单同族被引用专利总数
50
诉讼案件数
0
法律状态/事件
未缴年费 | 权利转移
抱歉,您的浏览器不支持PDF预览,请点击链接下载PDF文件