专利数据库
统计分析
产业报告
专利数据监控
产业人才
行业动态
产业政策法规
维权援助
个人中心
详情
文本
图像
标题
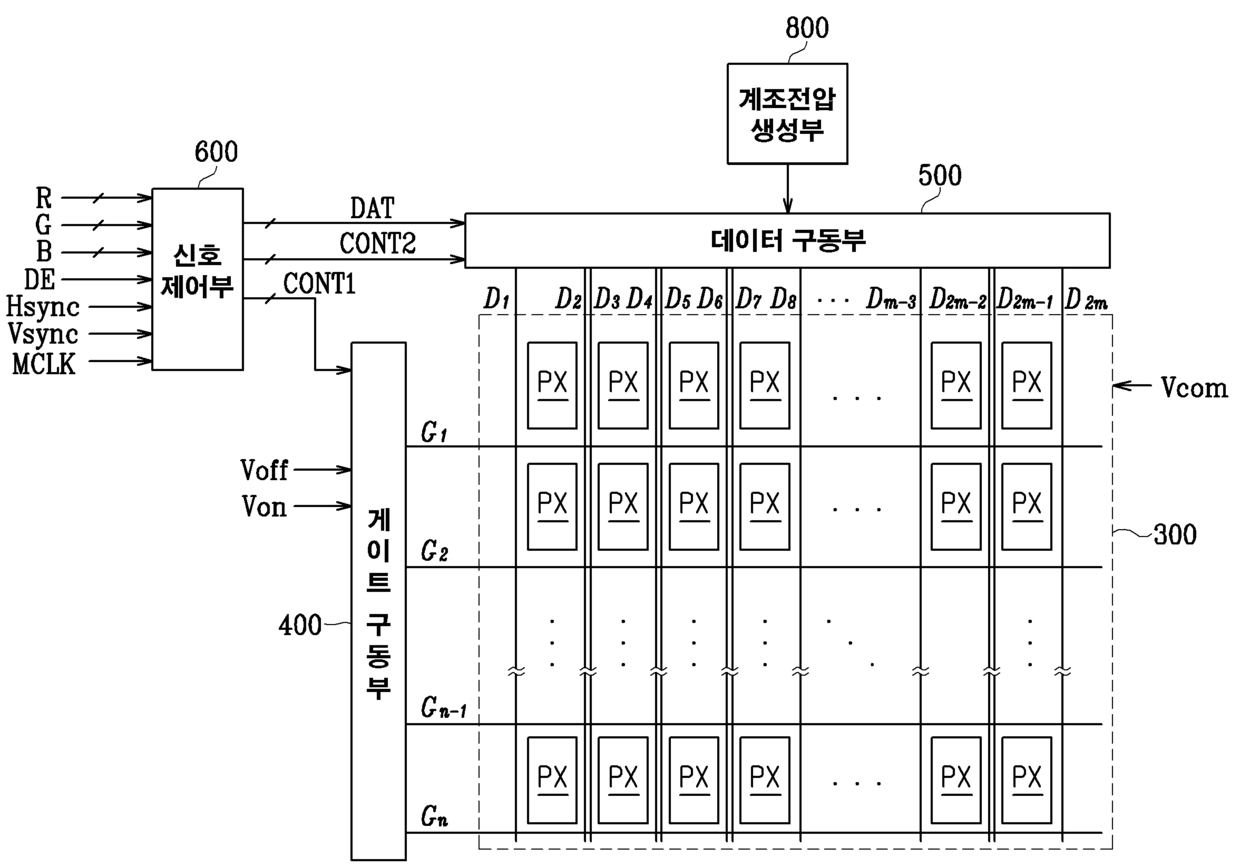
액정 표시 장치
授权日
1900-01-01
公开(公告)号
KR1020060112043A
申请日
2005-04-26
公开(公告)日
2006-10-31
当前申请(专利权)人
삼성전자주식회사
发明人
KIM, DONG GYU
简单同族
CN1854831A | JP2006309239A | KR1020060112043A | TW200643583A | US20070008263A1
简单同族成员数量
5
简单同族被引用专利总数
80
诉讼案件数
0
法律状态/事件
撤回
抱歉,您的浏览器不支持PDF预览,请点击链接下载PDF文件