专利数据库
统计分析
产业报告
专利数据监控
产业人才
行业动态
产业政策法规
维权援助
个人中心
详情
文本
图像
标题
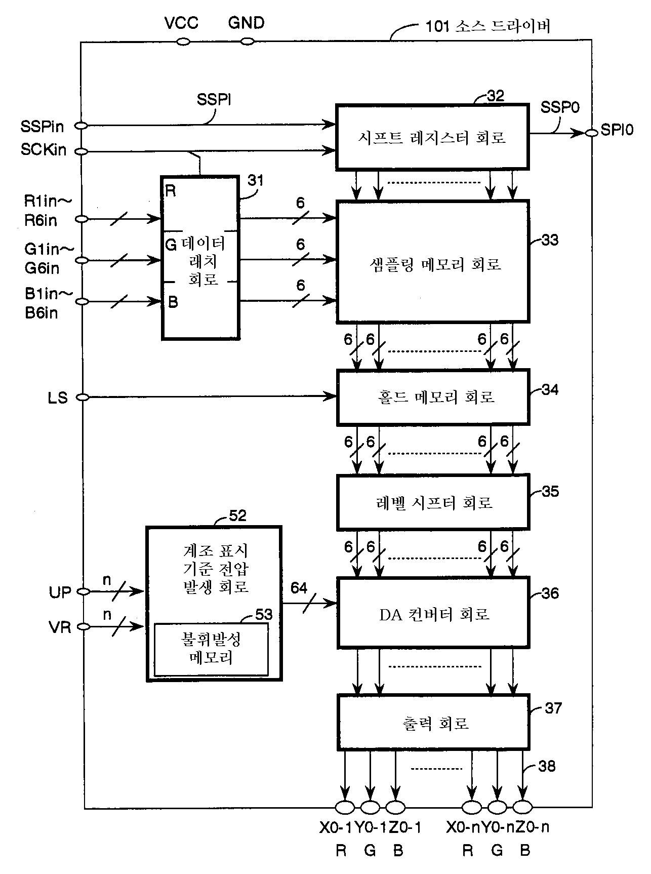
계조 표시용 기준 전압 발생 회로 및 그것을 이용한 액정표시 장치
授权日
1900-01-01
公开(公告)号
KR1020030062279A
申请日
2003-01-15
公开(公告)日
2003-07-23
当前申请(专利权)人
샤프 가부시키가이샤
发明人
다나까시게끼 | 오가와요시노리
简单同族
CN1253846C | CN1432993A | JP2003280615A | KR100520861B1 | KR1020030062279A | TW200302449A | TWI227456B | US20030132906A1
简单同族成员数量
8
简单同族被引用专利总数
104
诉讼案件数
0
法律状态/事件
放弃
抱歉,您的浏览器不支持PDF预览,请点击链接下载PDF文件