专利数据库
统计分析
产业报告
专利数据监控
产业人才
行业动态
产业政策法规
维权援助
个人中心
详情
文本
图像
标题
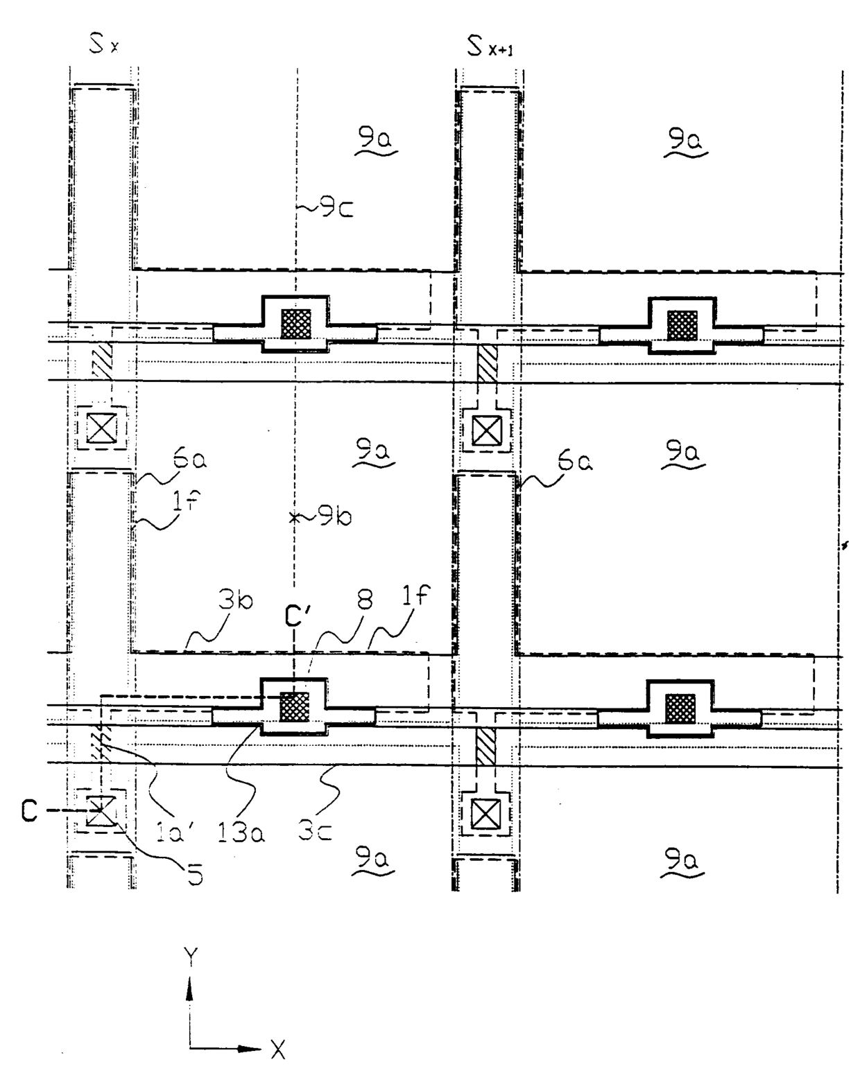
액정 패널
授权日
2005-07-29
公开(公告)号
KR100506566B1
申请日
2004-07-09
公开(公告)日
2005-08-10
当前申请(专利权)人
세이코 엡슨 가부시키가이샤
发明人
무라데마사오 | 이시이겐야
简单同族
CN100362404C | CN1233768A | CN1287208C | CN1515947A | KR100460182B1 | KR100485232B1 | KR100506566B1 | KR1019990072286A | KR1020030029589A | KR1020040065205A | TW542932B | TW583433B | TWI250337B | US20010015778A1 | US6172721 | US6249327 | US6480244
简单同族成员数量
17
简单同族被引用专利总数
185
诉讼案件数
0
法律状态/事件
未缴年费
抱歉,您的浏览器不支持PDF预览,请点击链接下载PDF文件