专利数据库
统计分析
产业报告
专利数据监控
产业人才
行业动态
产业政策法规
维权援助
个人中心
详情
文本
图像
标题
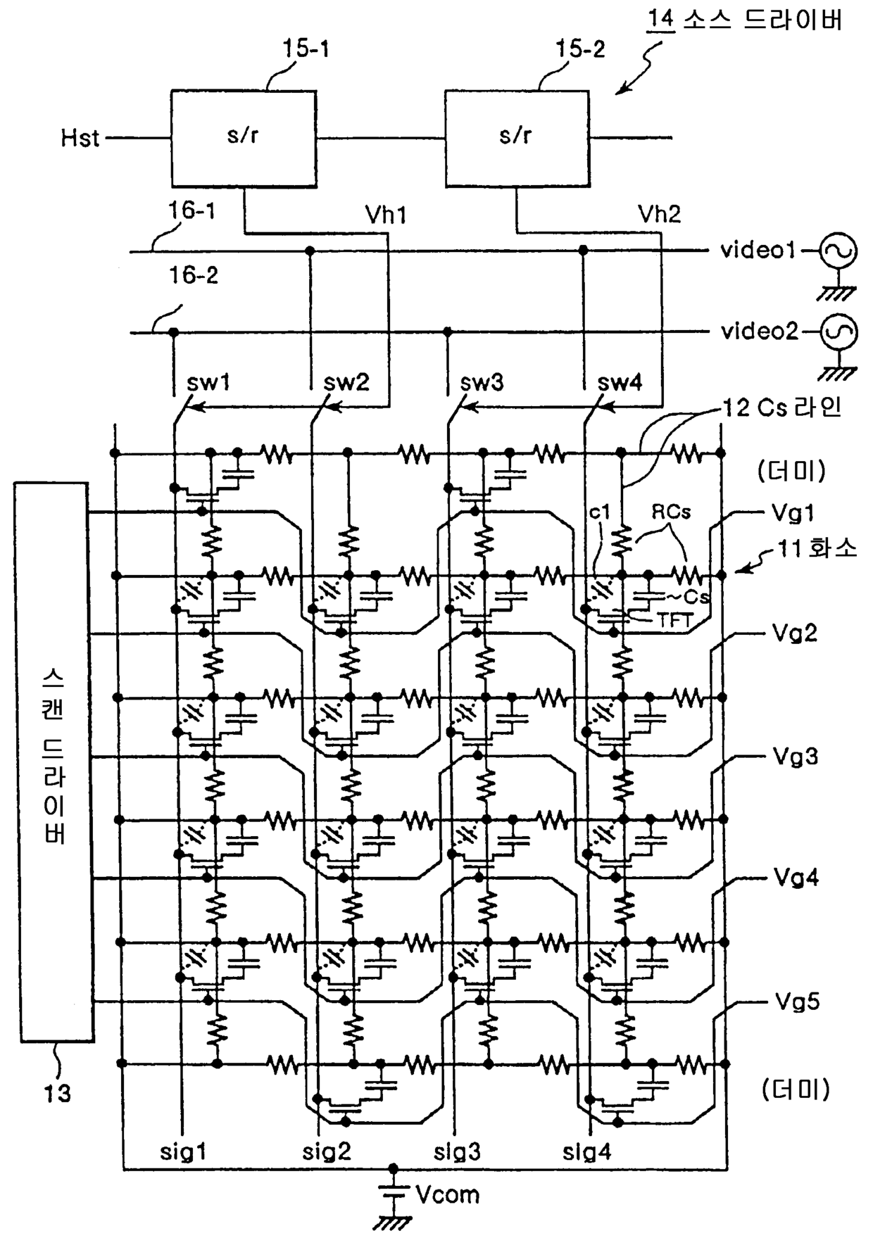
액정 표시 장치, 그 구동 방법 및 액정 표시 시스템
授权日
2007-08-17
公开(公告)号
KR100751958B1
申请日
2000-03-13
公开(公告)日
2007-08-24
当前申请(专利权)人
소니 주식회사
发明人
우치노가쓰히데 | 노다가즈히로 | 마에카와도시카즈 | 기타가와히데유키
简单同族
EP1037193A2 | EP1037193A3 | KR100751958B1 | KR100768116B1 | KR1020000062850A | KR1020060105700A | TW521241B | US20030090452A1 | US6512505 | US7126574
简单同族成员数量
10
简单同族被引用专利总数
95
诉讼案件数
0
法律状态/事件
未缴年费
抱歉,您的浏览器不支持PDF预览,请点击链接下载PDF文件