专利数据库
统计分析
产业报告
专利数据监控
产业人才
行业动态
产业政策法规
维权援助
个人中心
详情
文本
图像
标题
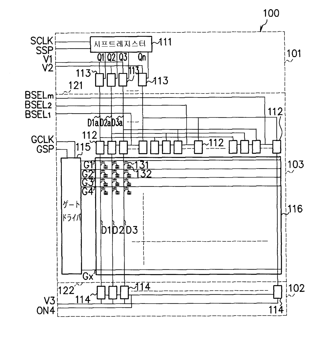
액정 표시 장치
授权日
2007-10-26
公开(公告)号
KR100772617B1
申请日
2002-01-07
公开(公告)日
2007-11-02
当前申请(专利权)人
샤프 가부시키가이샤
发明人
가이츠토무 | 오카자키스스무 | 장홍용 | 오하시노리유키
简单同族
JP2002296620A | JP4562938B2 | KR100772617B1 | KR1020020077033A | TW550411B | US20020140650A1 | US6853364
简单同族成员数量
7
简单同族被引用专利总数
90
诉讼案件数
0
法律状态/事件
授权 | 权利转移
抱歉,您的浏览器不支持PDF预览,请点击链接下载PDF文件