专利数据库
统计分析
产业报告
专利数据监控
产业人才
行业动态
产业政策法规
维权援助
个人中心
详情
文本
图像
标题
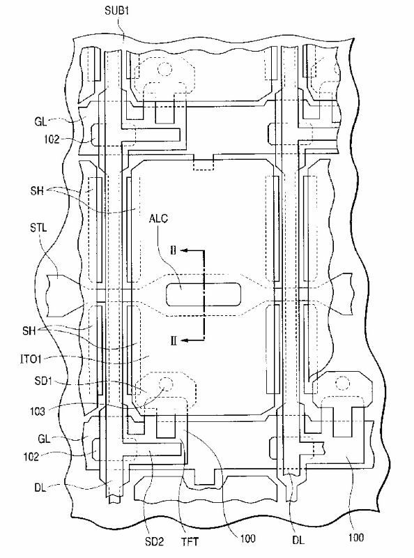
스토리지 용량이 제어되는 액정 표시 소자
授权日
1900-01-01
公开(公告)号
KR1020010087345A
申请日
2001-03-06
公开(公告)日
2001-09-15
当前申请(专利权)人
가부시키가이샤 히타치세이사쿠쇼
发明人
오기이찌기미또시 | 오쯔료우이찌
简单同族
CN1143169C | CN1317711A | EP1136873A2 | EP1136873A3 | EP1136873B1 | KR100356877B1 | KR1020010087345A | TW514762B | US20010019372A1 | US6583829
简单同族成员数量
10
简单同族被引用专利总数
65
诉讼案件数
0
法律状态/事件
授权 | 权利转移
抱歉,您的浏览器不支持PDF预览,请点击链接下载PDF文件