专利数据库
统计分析
产业报告
专利数据监控
产业人才
行业动态
产业政策法规
维权援助
个人中心
详情
文本
图像
标题
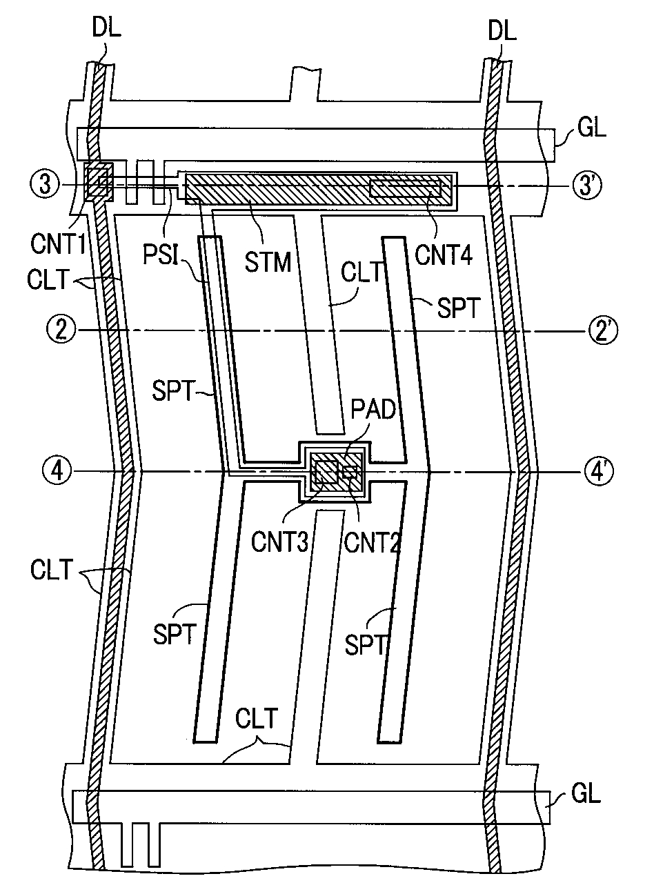
액정 표시 장치
授权日
1900-01-01
公开(公告)号
KR1020030061683A
申请日
2003-01-14
公开(公告)日
2003-07-22
当前申请(专利权)人
가부시키가이샤 히타치세이사쿠쇼
发明人
오노기꾸오 | 오께류따로 | 오찌아이다까히로
简单同族
CN1267783C | CN1432857A | CN1776508A | JP2003207796A | JP3891846B2 | KR100511817B1 | KR1020030061683A | TW200302384A | TW591316B | US20030133053A1 | US6774956
简单同族成员数量
11
简单同族被引用专利总数
71
诉讼案件数
0
法律状态/事件
授权 | 权利转移
抱歉,您的浏览器不支持PDF预览,请点击链接下载PDF文件