专利数据库
统计分析
产业报告
专利数据监控
产业人才
行业动态
产业政策法规
维权援助
个人中心
详情
文本
图像
标题
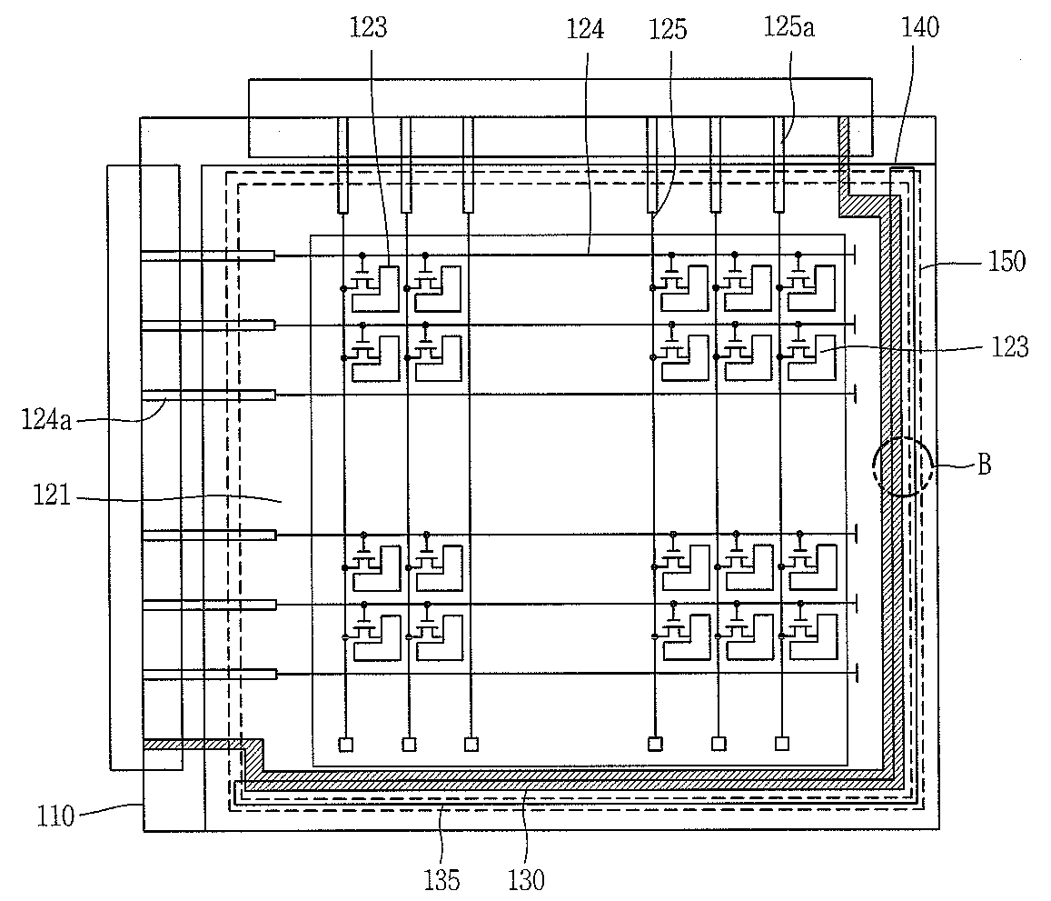
액정표시소자
授权日
1900-01-01
公开(公告)号
KR1020080003226A
申请日
2007-06-07
公开(公告)日
2008-01-07
当前申请(专利权)人
엘지디스플레이 주식회사
发明人
JEONG,DUK YOUNG
简单同族
CN101097364A | CN101097364B | GB0712511D0 | GB0812417D0 | GB0812418D0 | GB2439823A | GB2439823B | GB2450635A | GB2450635B | GB2450808A | GB2450808B | KR1020080003226A | TW200801744A | TWI370305B | US20080002134A1 | US20110211151A1 | US7889308 | US8373840
简单同族成员数量
18
简单同族被引用专利总数
64
诉讼案件数
0
法律状态/事件
撤回
抱歉,您的浏览器不支持PDF预览,请点击链接下载PDF文件