专利数据库
统计分析
产业报告
专利数据监控
产业人才
行业动态
产业政策法规
维权援助
个人中心
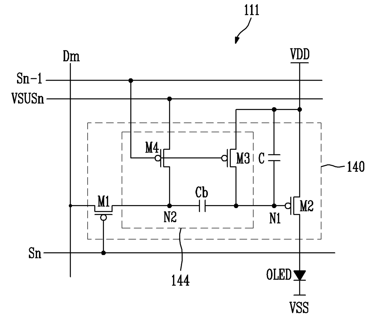
详情
文本
图像
标题
발광 표시장치 및 그의 구동방법
授权日
2006-06-15
公开(公告)号
KR100592644B1
申请日
2004-11-08
公开(公告)日
2006-06-26
当前申请(专利权)人
삼성에스디아이 주식회사
发明人
KIM,HONGKWON
简单同族
CN100410991C | CN1773594A | JP2006133745A | JP4281923B2 | KR100592644B1 | KR1020060040907A | US20060108937A1 | US7193370
简单同族成员数量
8
简单同族被引用专利总数
63
诉讼案件数
0
法律状态/事件
授权 | 权利转移
抱歉,您的浏览器不支持PDF预览,请点击链接下载PDF文件