专利数据库
统计分析
产业报告
专利数据监控
产业人才
行业动态
产业政策法规
维权援助
个人中心
详情
文本
图像
标题
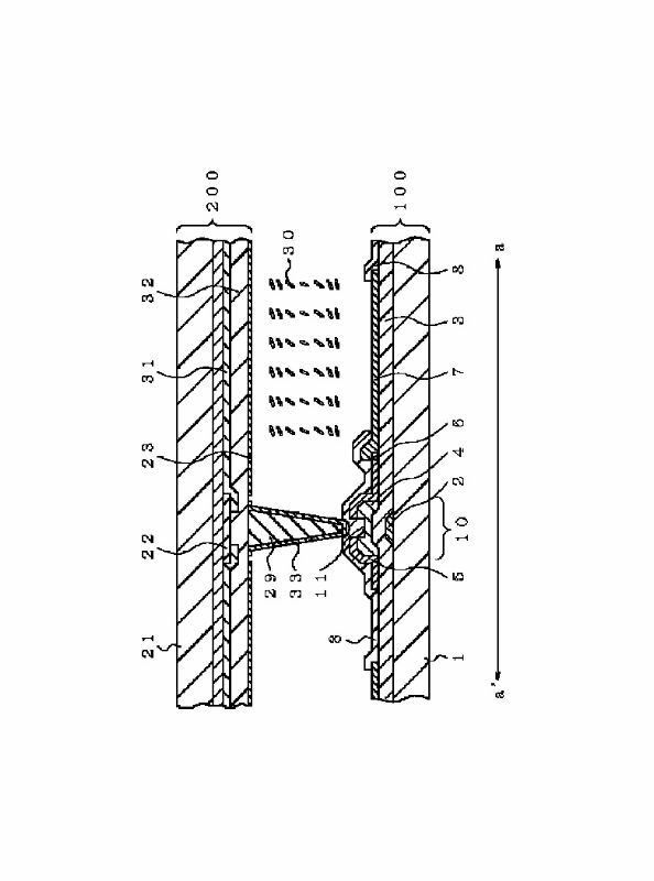
박막 트랜지스터의 백 채널을 바이어스하기 위한 2개의기판 구조물 사이에 도전 스페이서를 구비
授权日
1900-01-01
公开(公告)号
KR1020010029948A
申请日
2000-07-14
公开(公告)日
2001-04-16
当前申请(专利权)人
닛뽕덴끼 가부시끼가이샤
发明人
와따나베마꼬또 | 구로하쇼이찌 | 히데히라마사노부
简单同族
JP2001027762A | JP3285011B2 | KR100378412B1 | KR1020010029948A | NL1015693A | NL1015693C | TWI224693B | US6573969
简单同族成员数量
8
简单同族被引用专利总数
60
诉讼案件数
0
法律状态/事件
未缴年费 | 权利转移
抱歉,您的浏览器不支持PDF预览,请点击链接下载PDF文件