专利数据库
统计分析
产业报告
专利数据监控
产业人才
行业动态
产业政策法规
维权援助
个人中心
详情
文本
图像
标题
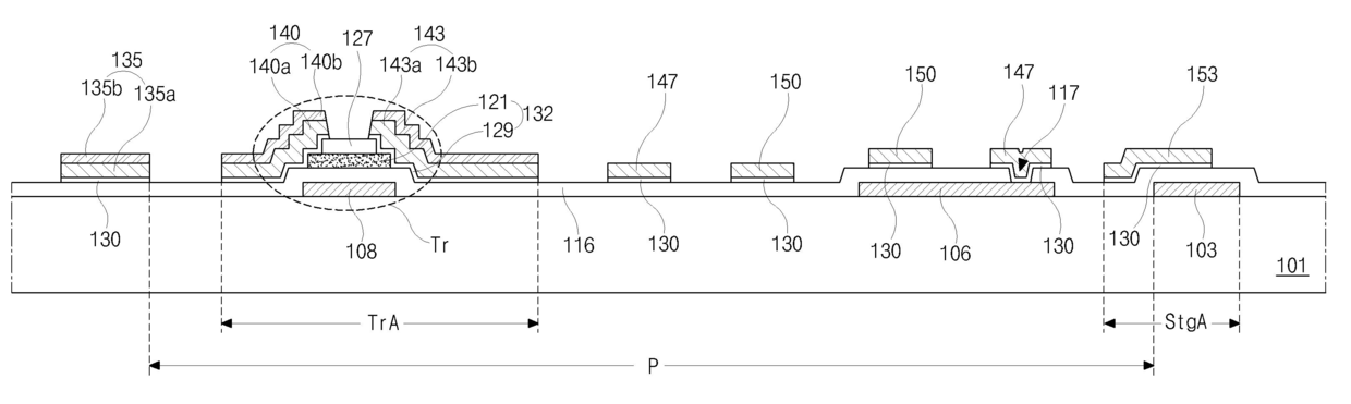
횡전계형 액정표시장치용 어레이 기판 및 그의 제조방법
授权日
1900-01-01
公开(公告)号
KR1020090039257A
申请日
2007-10-17
公开(公告)日
2009-04-22
当前申请(专利权)人
엘지디스플레이 주식회사
发明人
KWACK, HEE YOUNG
简单同族
CN101414085A | CN101414085B | KR101058461B1 | KR1020090039257A | TW200919591A | TWI415195B | US20090101908A1 | US20100328567A1 | US7807486 | US8053802
简单同族成员数量
10
简单同族被引用专利总数
69
诉讼案件数
0
法律状态/事件
授权
抱歉,您的浏览器不支持PDF预览,请点击链接下载PDF文件