专利数据库
统计分析
产业报告
专利数据监控
产业人才
行业动态
产业政策法规
维权援助
个人中心
详情
文本
图像
标题
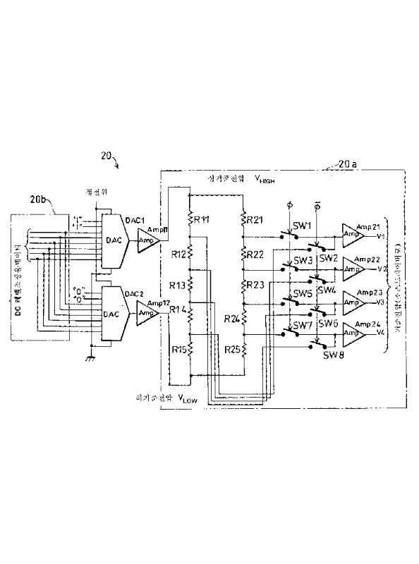
액정 표시 장치에 사용되는 구동 회로, 그를 포함하는액정 표시 장치, 및 그 액정 표시 장치를 포함하
授权日
2004-04-19
公开(公告)号
KR100429525B1
申请日
2001-07-12
公开(公告)日
2004-05-04
当前申请(专利权)人
샤프 가부시키가이샤
发明人
쿠마다코우지 | 야나기토시히로 | 오타타카시게
简单同族
CN1187638C | CN1334555A | JP2002108312A | JP2002108312A5 | JP3813463B2 | KR100429525B1 | KR1020020014676A | TW513688B | US20020008686A1 | US7176869
简单同族成员数量
10
简单同族被引用专利总数
133
诉讼案件数
0
法律状态/事件
未缴年费
抱歉,您的浏览器不支持PDF预览,请点击链接下载PDF文件