专利数据库
统计分析
产业报告
专利数据监控
产业人才
行业动态
产业政策法规
维权援助
个人中心
详情
文本
图像
标题
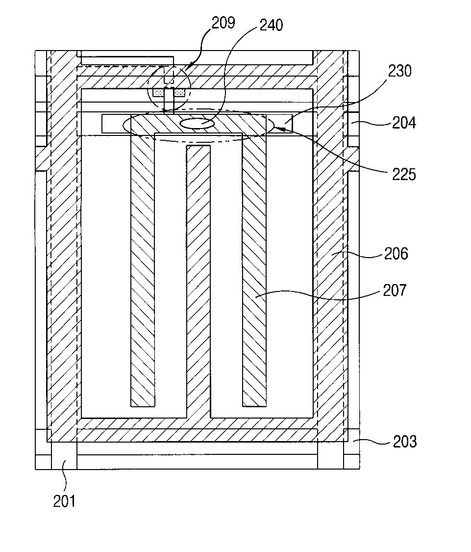
횡전계방식 액정 표시 소자 및 그 제조방법
授权日
2008-09-22
公开(公告)号
KR100860523B1
申请日
2002-10-11
公开(公告)日
2008-09-26
当前申请(专利权)人
엘지디스플레이 주식회사
发明人
홍형기 | 정진열
简单同族
CN1288487C | CN1488977A | KR100860523B1 | KR1020040033205A | US20040070717A1 | US20050099571A1 | US6839116 | US7180565
简单同族成员数量
8
简单同族被引用专利总数
70
诉讼案件数
0
法律状态/事件
授权
抱歉,您的浏览器不支持PDF预览,请点击链接下载PDF文件