专利数据库
统计分析
产业报告
专利数据监控
产业人才
行业动态
产业政策法规
维权援助
个人中心
详情
文本
图像
标题
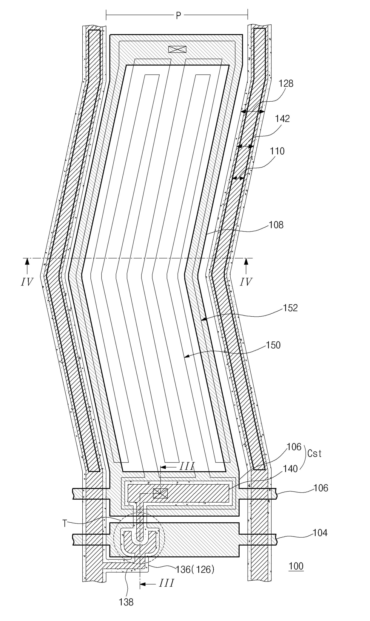
횡전계 방식 액정표시장치용 어레이 기판과 그 제조방법
授权日
1900-01-01
公开(公告)号
KR1020070103129A
申请日
2006-04-18
公开(公告)日
2007-10-23
当前申请(专利权)人
엘지디스플레이 주식회사
发明人
이정은 | 이재균 | 송무형 | 최승찬
简单同族
CN100523971C | CN101059633A | DE102006057773A1 | DE102006057773B4 | FR2899982A1 | FR2899982B1 | GB0624956D0 | GB2437326A | GB2437326B | GB2437326B8 | JP2007286592A | JP2011164658A | JP2011203748A | JP4785730B2 | JP5314085B2 | JP5559099B2 | KR101229413B1 | KR1020070103129A | TW200742085A | TWI321361B | US20070242203A1 | US20120008072A1 | US20120270372A1 | US20130102098A1 | US8040445 | US8223281 | US8345175 | US8525944
简单同族成员数量
28
简单同族被引用专利总数
53
诉讼案件数
0
法律状态/事件
授权
抱歉,您的浏览器不支持PDF预览,请点击链接下载PDF文件