专利数据库
统计分析
产业报告
专利数据监控
产业人才
行业动态
产业政策法规
维权援助
个人中心
详情
文本
图像
标题
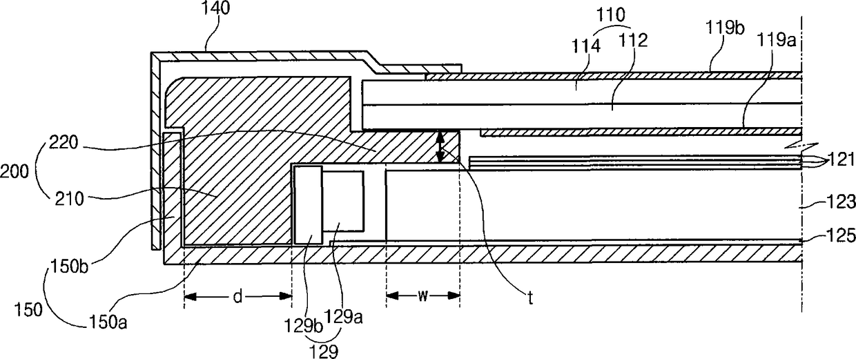
液晶显示装置
授权日
2014-06-11
公开(公告)号
CN102081259B
申请日
2010-09-02
公开(公告)日
2014-06-11
当前申请(专利权)人
乐金显示有限公司
发明人
池炳华 | 段庆植 | 李世民 | 朴亨修
简单同族
CN102081259A | CN102081259B | KR101294749B1 | KR1020110059305A | US20110128463A1 | US8730425
简单同族成员数量
6
简单同族被引用专利总数
65
诉讼案件数
0
法律状态/事件
授权
抱歉,您的浏览器不支持PDF预览,请点击链接下载PDF文件