专利数据库
统计分析
产业报告
专利数据监控
产业人才
行业动态
产业政策法规
维权援助
个人中心
详情
文本
图像
标题
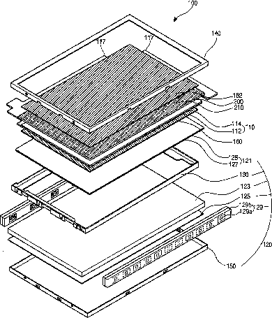
Liquid crystal display device
授权日
2015-08-11
公开(公告)号
US9104062
申请日
2012-04-25
公开(公告)日
2015-08-11
当前申请(专利权)人
LG DISPLAY CO., LTD.
发明人
KIM, KYUNG-CHAN | CHAE, GEE-SUNG | CHA, SOON-WOOK | LEE, KYUNG-HOON | PARK, JOONG-PILL | GEE, MOON-BAE | CHO, SUNG-HEE | JANG, KYUNG-KOOK | JEONG, KYUNG-SEOK
简单同族
CN103135281A | CN103135281B | KR101841094B1 | KR1020130059222A | US20130135558A1 | US9104062
简单同族成员数量
6
简单同族被引用专利总数
70
诉讼案件数
0
法律状态/事件
授权 | 权利转移
抱歉,您的浏览器不支持PDF预览,请点击链接下载PDF文件