专利数据库
统计分析
产业报告
专利数据监控
产业人才
行业动态
产业政策法规
维权援助
个人中心
详情
文本
图像
标题
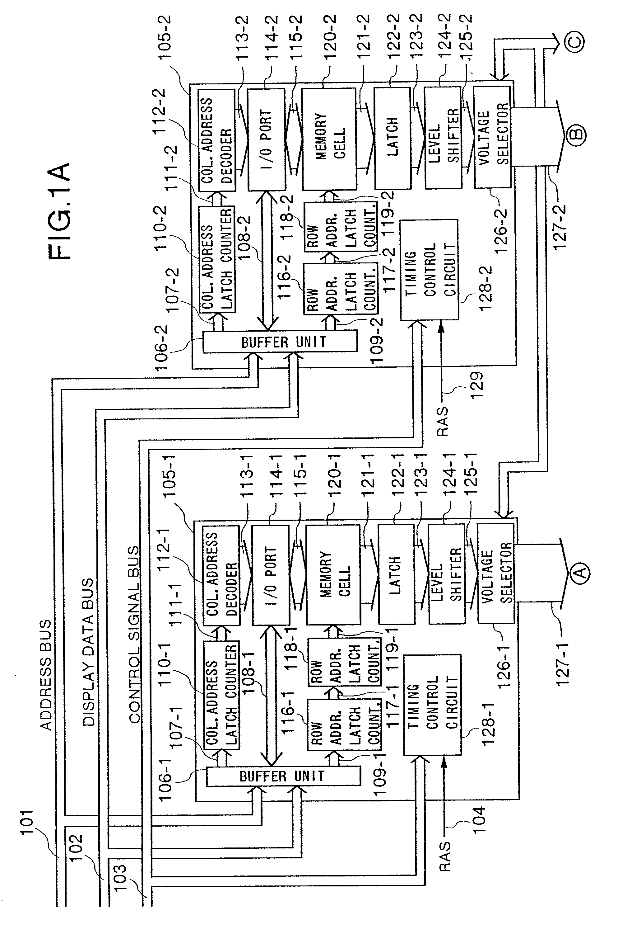
Liquid crystal display with liquid crystal driver having display memory
授权日
1900-01-01
公开(公告)号
US20010011988A1
申请日
2001-03-22
公开(公告)日
2001-08-09
当前申请(专利权)人
RENESAS ELECTRONICS CORPORATION
发明人
IKEDA, MAKIKO | FURUHASHI, TSUTOMU | NITTA, HIROYUKI | TAKITA, ISAO | KASAI, NARUHIKO | TSUNEKAWA, SATORU | INUZUKA, TATSUHIRO
简单同族
KR100130731B1 | KR1019950006503A | TW247359B | US20010011988A1 | US5815136 | US6222518 | US6633273
简单同族成员数量
7
简单同族被引用专利总数
154
诉讼案件数
0
法律状态/事件
未缴年费 | 权利转移
抱歉,您的浏览器不支持PDF预览,请点击链接下载PDF文件