专利数据库
统计分析
产业报告
专利数据监控
产业人才
行业动态
产业政策法规
维权援助
个人中心
详情
文本
图像
标题
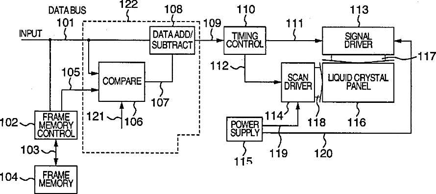
Liquid crystal display device having improved-response-characteristic drivability
授权日
1900-01-01
公开(公告)号
US20030117358A1
申请日
2003-02-11
公开(公告)日
2003-06-26
当前申请(专利权)人
PANASONIC LIQUID CRYSTAL DISPLAY CO., LTD. | HITACHI DISPLAYS, LTD.
发明人
FURUHASHI, TSUTOMU | INUZUKA, TATSUHIRO | KURIHARA, HIROSHI | ONO, KIKUO
简单同族
DE60044327D1 | EP1094437A2 | EP1094437A3 | EP1094437B1 | JP2001117074A | KR100363350B1 | KR1020010050512A | TW493147B | US20030117358A1 | US20050062701A1 | US6556180 | US6714181 | US7061511
简单同族成员数量
13
简单同族被引用专利总数
107
诉讼案件数
0
法律状态/事件
授权 | 权利转移
抱歉,您的浏览器不支持PDF预览,请点击链接下载PDF文件