专利数据库
统计分析
产业报告
专利数据监控
产业人才
行业动态
产业政策法规
维权援助
个人中心
详情
文本
图像
标题
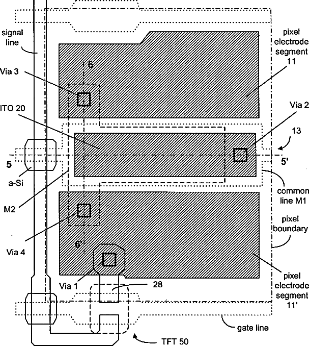
Stacked storage capacitor structure for a thin film transistor liquid crystal display
授权日
1900-01-01
公开(公告)号
US20060119753A1
申请日
2004-12-03
公开(公告)日
2006-06-08
当前申请(专利权)人
AU OPTRONICS CORPORATION
发明人
LUO, FANG-CHEN | LO, CHANG-CHENG
简单同族
CN100363830C | CN1680861A | JP2006163389A | JP4336341B2 | TW200620350A | TWI249173B | US20060119753A1 | US20080239183A1 | US7675582 | US8184219
简单同族成员数量
10
简单同族被引用专利总数
87
诉讼案件数
0
法律状态/事件
授权 | 权利转移
抱歉,您的浏览器不支持PDF预览,请点击链接下载PDF文件