专利数据库
统计分析
产业报告
专利数据监控
产业人才
行业动态
产业政策法规
维权援助
个人中心
详情
文本
图像
标题
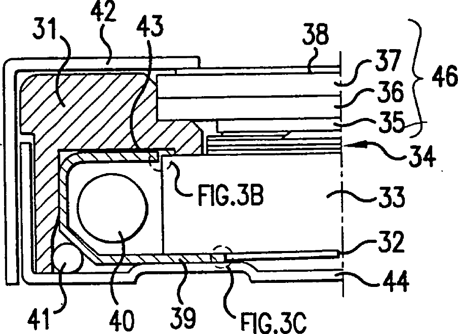
Liquid crystal display device and backlight thereof
授权日
1900-01-01
公开(公告)号
US20040062057A1
申请日
2003-09-30
公开(公告)日
2004-04-01
当前申请(专利权)人
LG DISPLAY CO., LTD.
发明人
HA, KYOUNG SU | JANG, MYONG GI
简单同族
KR100294689B1 | KR1020000067645A | US20040062057A1 | US6690435 | US7083318
简单同族成员数量
5
简单同族被引用专利总数
104
诉讼案件数
0
法律状态/事件
未缴年费 | 权利转移
抱歉,您的浏览器不支持PDF预览,请点击链接下载PDF文件