专利数据库
统计分析
产业报告
专利数据监控
产业人才
行业动态
产业政策法规
维权援助
个人中心
详情
文本
图像
标题
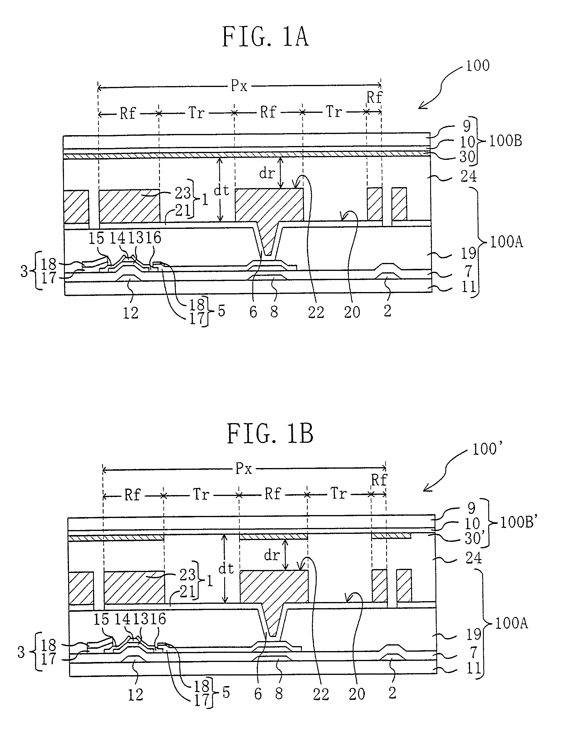
Liquid crystal display device
授权日
1900-01-01
公开(公告)号
US20010008437A1
申请日
2001-01-16
公开(公告)日
2001-07-19
当前申请(专利权)人
SHARP KABUSHIKI KAISHA
发明人
FUJIMORI, KOICHI | KUBO, MASUMI | NARUTAKI, YOZO
简单同族
JP2001272674A | JP3665263B2 | KR100449462B1 | KR1020010076336A | TWI286641B | US20010008437A1 | US6894745
简单同族成员数量
7
简单同族被引用专利总数
112
诉讼案件数
0
法律状态/事件
授权 | 权利转移
抱歉,您的浏览器不支持PDF预览,请点击链接下载PDF文件