专利数据库
统计分析
产业报告
专利数据监控
产业人才
行业动态
产业政策法规
维权援助
个人中心
详情
文本
图像
标题
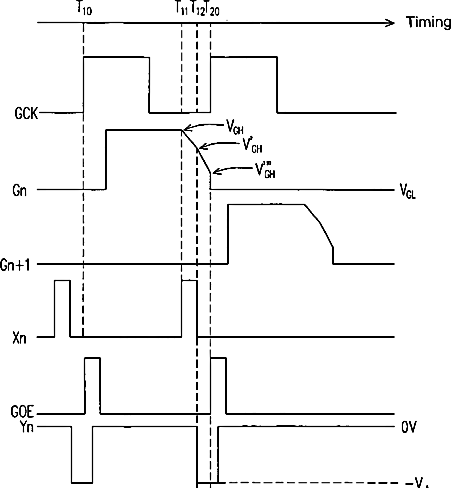
Gate driving method and circuit for liquid crystal display
授权日
2011-04-12
公开(公告)号
US7924255
申请日
2005-04-19
公开(公告)日
2011-04-12
当前申请(专利权)人
AU OPTRONICS CORP. (AUO)
发明人
HSU, WEN-FA | YI, CHIEN-YU
简单同族
TW200614136A | TWI253051B | US20060092109A1 | US20110122113A1 | US7924255 | US8502764
简单同族成员数量
6
简单同族被引用专利总数
80
诉讼案件数
0
法律状态/事件
授权 | 权利转移
抱歉,您的浏览器不支持PDF预览,请点击链接下载PDF文件