专利数据库
统计分析
产业报告
专利数据监控
产业人才
行业动态
产业政策法规
维权援助
个人中心
详情
文本
图像
标题
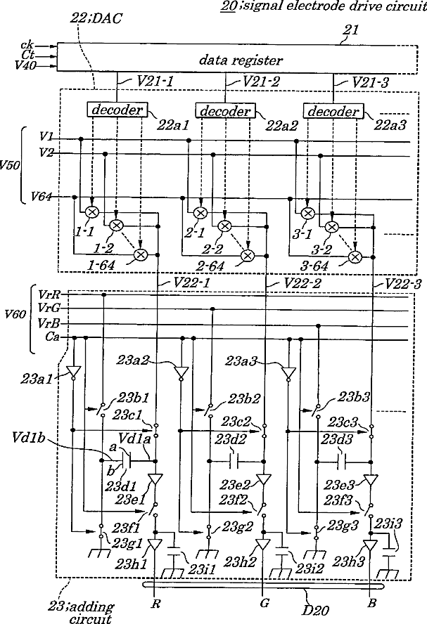
Liquid crystal display device
授权日
1900-01-01
公开(公告)号
US20020000964A1
申请日
2001-05-30
公开(公告)日
2002-01-03
当前申请(专利权)人
NLT TECHNOLOGIES, LTD.
发明人
SUMIYA, TAKANORI
简单同族
JP2001343940A | JP3512710B2 | KR100435082B1 | KR1020010109140A | TW502239B | US20020000964A1 | US6700560
简单同族成员数量
7
简单同族被引用专利总数
64
诉讼案件数
0
法律状态/事件
授权 | 权利转移
抱歉,您的浏览器不支持PDF预览,请点击链接下载PDF文件