专利数据库
统计分析
产业报告
专利数据监控
产业人才
行业动态
产业政策法规
维权援助
个人中心
详情
文本
图像
标题
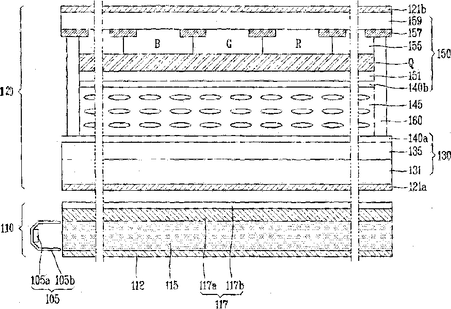
包括光转换层的液晶显示面板以及液晶显示器件
授权日
2017-04-12
公开(公告)号
CN102866535B
申请日
2011-12-29
公开(公告)日
2017-04-12
当前申请(专利权)人
乐金显示有限公司
发明人
辛宗硕 | 陈贤硕 | 李美京 | 朴暻豪
简单同族
CN102866535A | CN102866535B | JP2013015812A | KR101794653B1 | KR1020130005175A | US20130010229A1 | US9170453
简单同族成员数量
7
简单同族被引用专利总数
116
诉讼案件数
0
法律状态/事件
授权
抱歉,您的浏览器不支持PDF预览,请点击链接下载PDF文件