专利数据库
统计分析
产业报告
专利数据监控
产业人才
行业动态
产业政策法规
维权援助
个人中心
详情
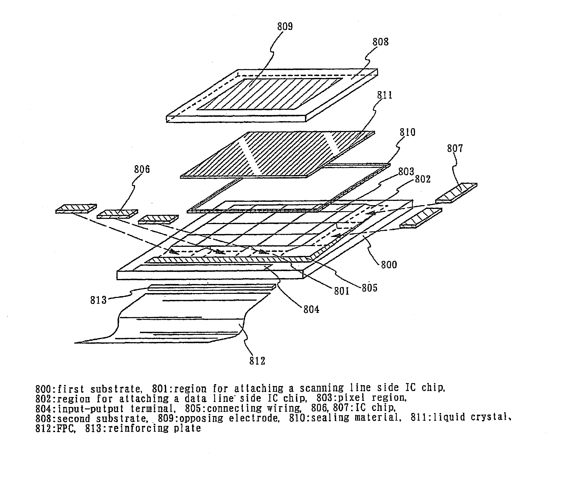
文本
图像
标题
Liquid crystal display device and manufacturing method thereof
授权日
1900-01-01
公开(公告)号
US20100195013A1
申请日
2010-04-12
公开(公告)日
2010-08-05
当前申请(专利权)人
SEMICONDUCTOR ENERGY LABORATORY CO., LTD.
发明人
YAMAZAKI, SHUNPEI | HIRAKATA, YOSHIHARU
简单同族
JP2001264807A | JP2001264807A5 | JP4393662B2 | KR100858005B1 | KR100864599B1 | KR100896144B1 | KR1020010090500A | KR1020060031661A | KR1020070091596A | TW508628B | US20070146568A1 | US20100195013A1 | US20130215352A1 | US7714975 | US8421985 | US8558983
简单同族成员数量
16
简单同族被引用专利总数
130
诉讼案件数
0
法律状态/事件
期限届满
抱歉,您的浏览器不支持PDF预览,请点击链接下载PDF文件