专利数据库
统计分析
产业报告
专利数据监控
产业人才
行业动态
产业政策法规
维权援助
个人中心
详情
文本
图像
标题
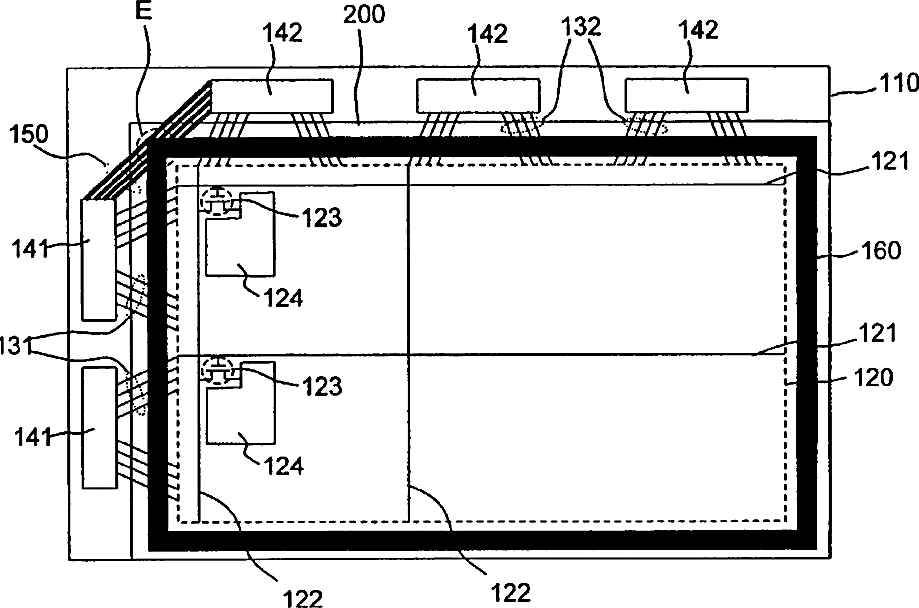
Liquid crystal display device having improved adhesion of a seal pattern
授权日
1900-01-01
公开(公告)号
US20030038913A1
申请日
2002-08-19
公开(公告)日
2003-02-27
当前申请(专利权)人
LG DISPLAY CO., LTD.
发明人
CHOO, KYO-SEOP
简单同族
KR100763408B1 | KR1020030016534A | US20030038913A1 | US6731369
简单同族成员数量
4
简单同族被引用专利总数
74
诉讼案件数
0
法律状态/事件
授权 | 权利转移
抱歉,您的浏览器不支持PDF预览,请点击链接下载PDF文件