专利数据库
统计分析
产业报告
专利数据监控
产业人才
行业动态
产业政策法规
维权援助
个人中心
详情
文本
图像
标题
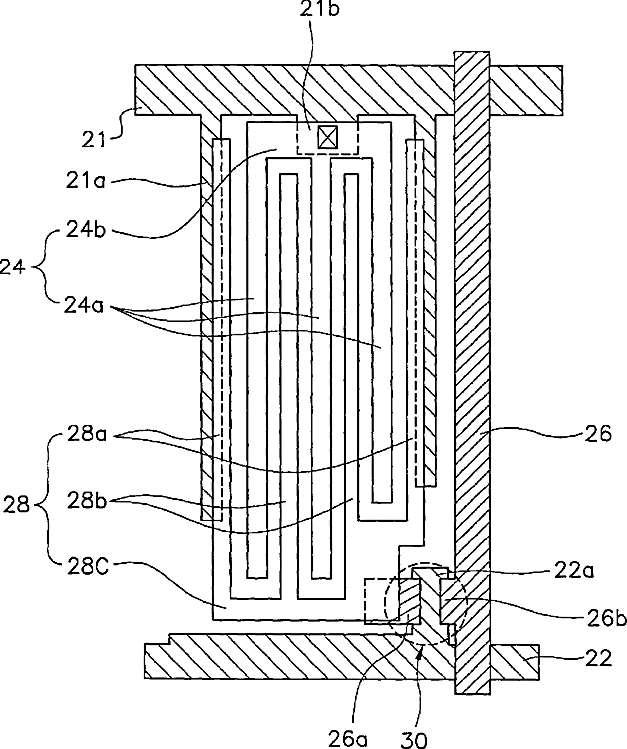
In plane switching mode liquid crystal display device and method for manufacturing the same
授权日
1900-01-01
公开(公告)号
US20010005252A1
申请日
2000-12-19
公开(公告)日
2001-06-28
当前申请(专利权)人
BOE-HYDIS TECHNOLOGY CO., LTD.
发明人
LEE, KYUNG HA | KIM, JEONG GEUN | PARK, SEUNG YIK
简单同族
JP2001222030A | KR100322969B1 | KR1020010063296A | US20010005252A1 | US6449027
简单同族成员数量
5
简单同族被引用专利总数
114
诉讼案件数
0
法律状态/事件
授权 | 权利转移
抱歉,您的浏览器不支持PDF预览,请点击链接下载PDF文件