专利数据库
统计分析
产业报告
专利数据监控
产业人才
行业动态
产业政策法规
维权援助
个人中心
详情
文本
图像
标题
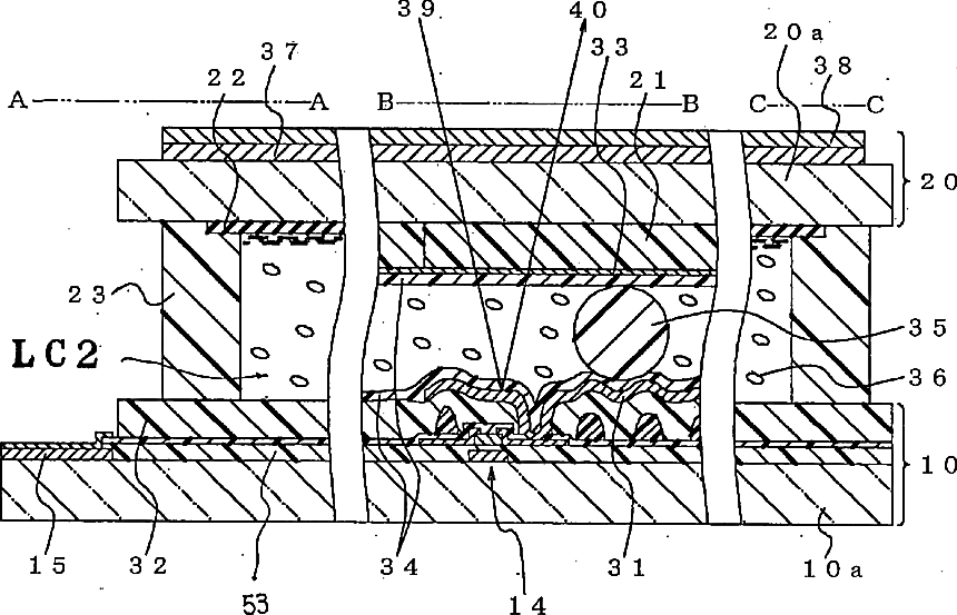
Liquid crystal display panel having reflection electrodes improved in smooth surface morphology and process for fabrication thereof
授权日
1900-01-01
公开(公告)号
US20050175792A1
申请日
2005-04-14
公开(公告)日
2005-08-11
当前申请(专利权)人
NLT TECHNOLOGIES, LTD.
发明人
MAEDA, AKITOSHI | YAMAMOTO, ATSUSHI | SHINDOH, TOMOHIDE
简单同族
JP2002357844A | JP3908552B2 | KR100515176B1 | KR1020020077252A | TW569070B | US20020140887A1 | US20050175792A1 | US20070064181A1 | US7123325 | US7176994 | US7633580
简单同族成员数量
11
简单同族被引用专利总数
72
诉讼案件数
0
法律状态/事件
授权 | 权利转移
抱歉,您的浏览器不支持PDF预览,请点击链接下载PDF文件