专利数据库
统计分析
产业报告
专利数据监控
产业人才
行业动态
产业政策法规
维权援助
个人中心
详情
文本
图像
标题
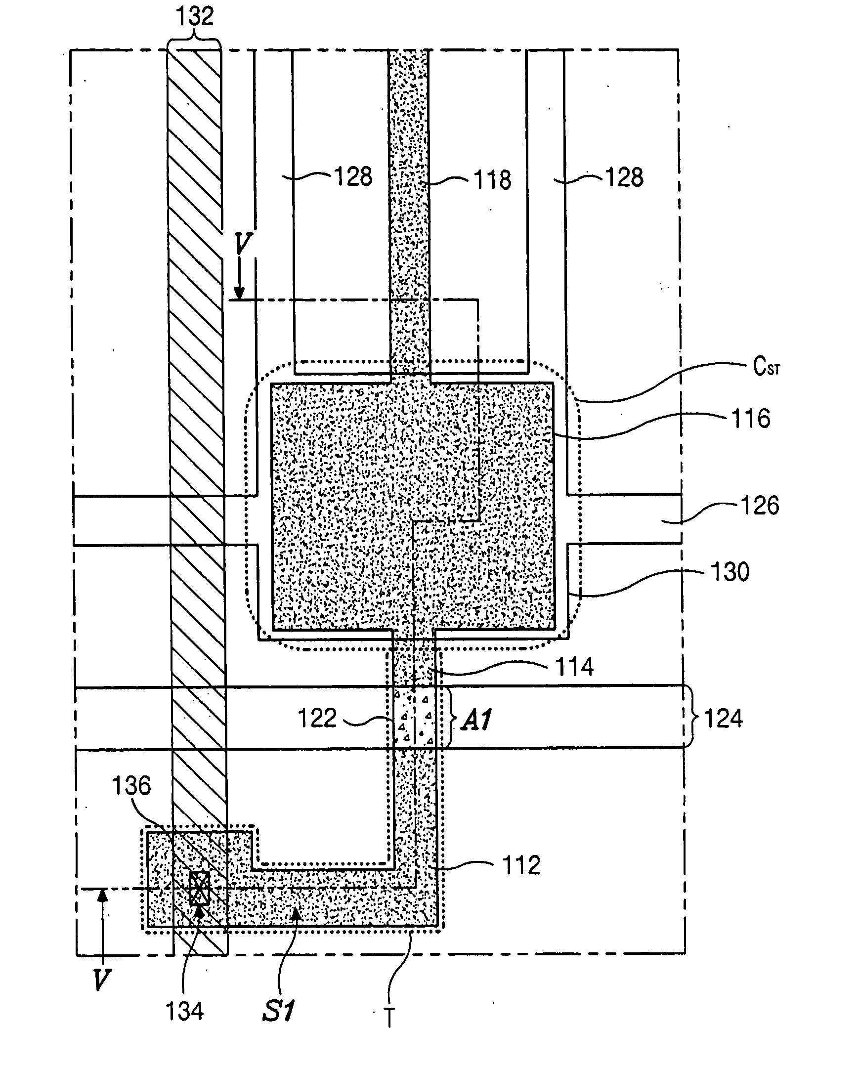
Array substrate for in-plane switching liquid crystal display device and method of fabricating the same
授权日
1900-01-01
公开(公告)号
US20040183978A1
申请日
2004-03-19
公开(公告)日
2004-09-23
当前申请(专利权)人
LG DISPLAY CO., LTD.
发明人
JEOUNG, HUN
简单同族
KR100930916B1 | KR1020040082796A | US20040183978A1 | US20070013820A1 | US7130010 | US7430034
简单同族成员数量
6
简单同族被引用专利总数
77
诉讼案件数
0
法律状态/事件
授权 | 权利转移
抱歉,您的浏览器不支持PDF预览,请点击链接下载PDF文件