专利数据库
统计分析
产业报告
专利数据监控
产业人才
行业动态
产业政策法规
维权援助
个人中心
详情
文本
图像
标题
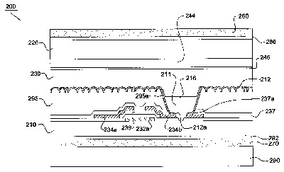
Liquid crystal display device
授权日
2004-12-14
公开(公告)号
US6831718
申请日
2002-05-17
公开(公告)日
2004-12-14
当前申请(专利权)人
INNOLUX CORPORATION
发明人
WEI, CHUNG KUANG | KUO, CHEN LUNG
简单同族
JP2003215639A | JP4209636B2 | TW562962B | US20030133059A1 | US6831718
简单同族成员数量
5
简单同族被引用专利总数
86
诉讼案件数
0
法律状态/事件
授权 | 权利转移
抱歉,您的浏览器不支持PDF预览,请点击链接下载PDF文件