专利数据库
统计分析
产业报告
专利数据监控
产业人才
行业动态
产业政策法规
维权援助
个人中心
详情
文本
图像
标题
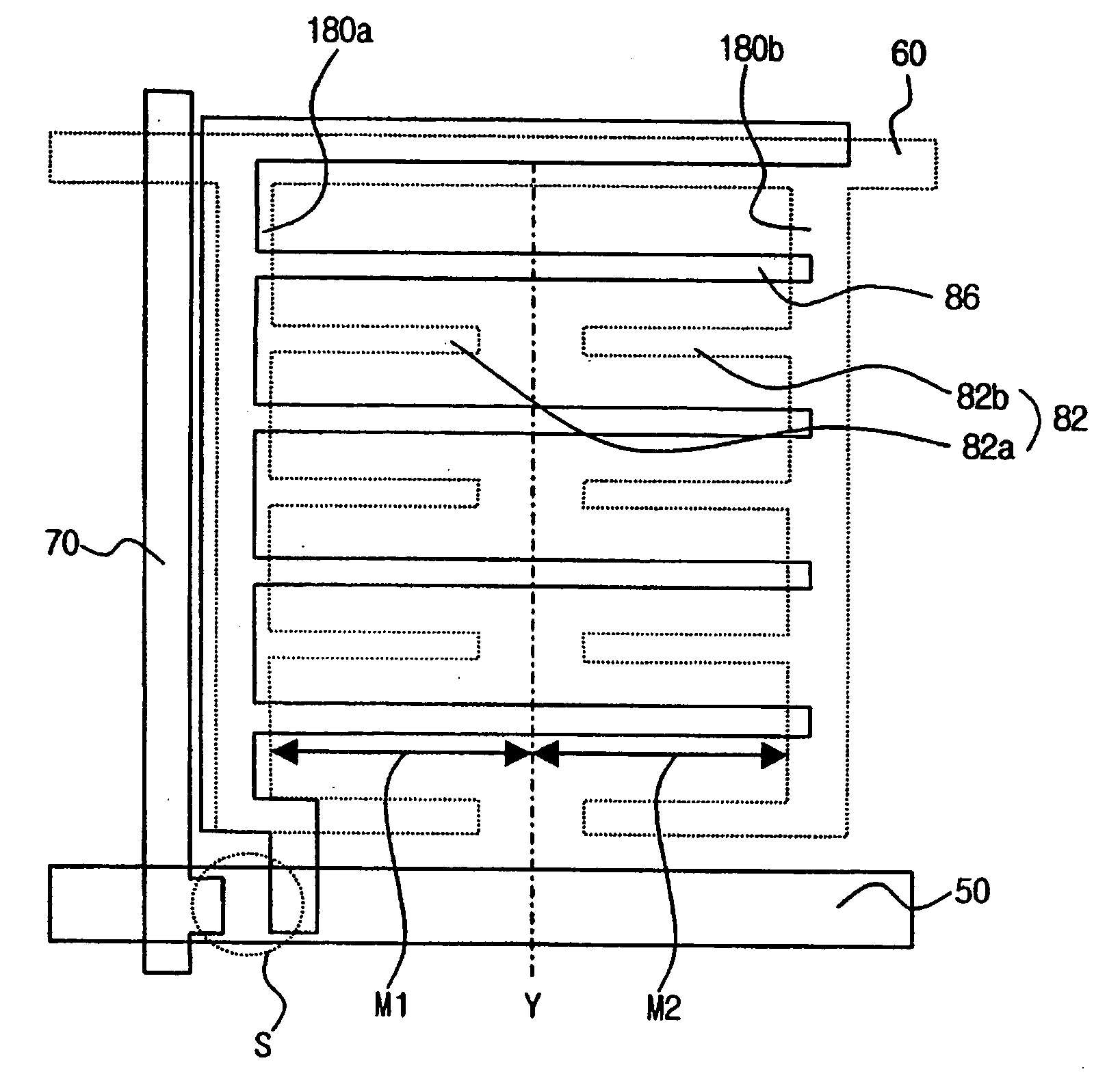
In-plane switching LCD panel
授权日
1900-01-01
公开(公告)号
US20060181664A1
申请日
2006-04-07
公开(公告)日
2006-08-17
当前申请(专利权)人
LG DISPLAY CO., LTD.
发明人
YOO, JANG-JIN | HONG, HYUNG-KI | LEE, YUN-BOK
简单同族
US20020021396A1 | US20040057003A1 | US20060181664A1 | US20090231531A1 | US6636289 | US7057696 | US7528919 | US8149368
简单同族成员数量
8
简单同族被引用专利总数
104
诉讼案件数
0
法律状态/事件
授权 | 权利转移
抱歉,您的浏览器不支持PDF预览,请点击链接下载PDF文件