专利数据库
统计分析
产业报告
专利数据监控
产业人才
行业动态
产业政策法规
维权援助
个人中心
详情
文本
图像
标题
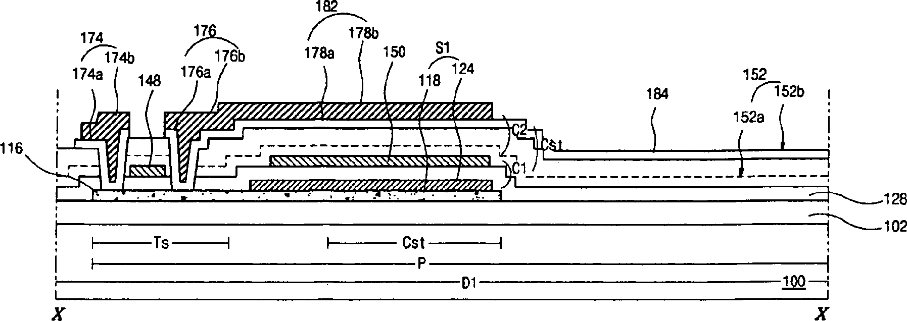
Array substrate for liquid crystal display device and method of fabricating the same
授权日
1900-01-01
公开(公告)号
US20070103610A1
申请日
2006-06-15
公开(公告)日
2007-05-10
当前申请(专利权)人
LG DISPLAY CO., LTD.
发明人
LEE, SEOK-WOO | PARK, YONG-IN
简单同族
CN100461431C | CN1964056A | JP2007133364A | JP4567634B2 | KR101151799B1 | KR1020070049743A | US20070103610A1 | US20090269872A1 | US7532263 | US8462281
简单同族成员数量
10
简单同族被引用专利总数
94
诉讼案件数
0
法律状态/事件
授权 | 权利转移
抱歉,您的浏览器不支持PDF预览,请点击链接下载PDF文件