专利数据库
统计分析
产业报告
专利数据监控
产业人才
行业动态
产业政策法规
维权援助
个人中心
详情
文本
图像
标题
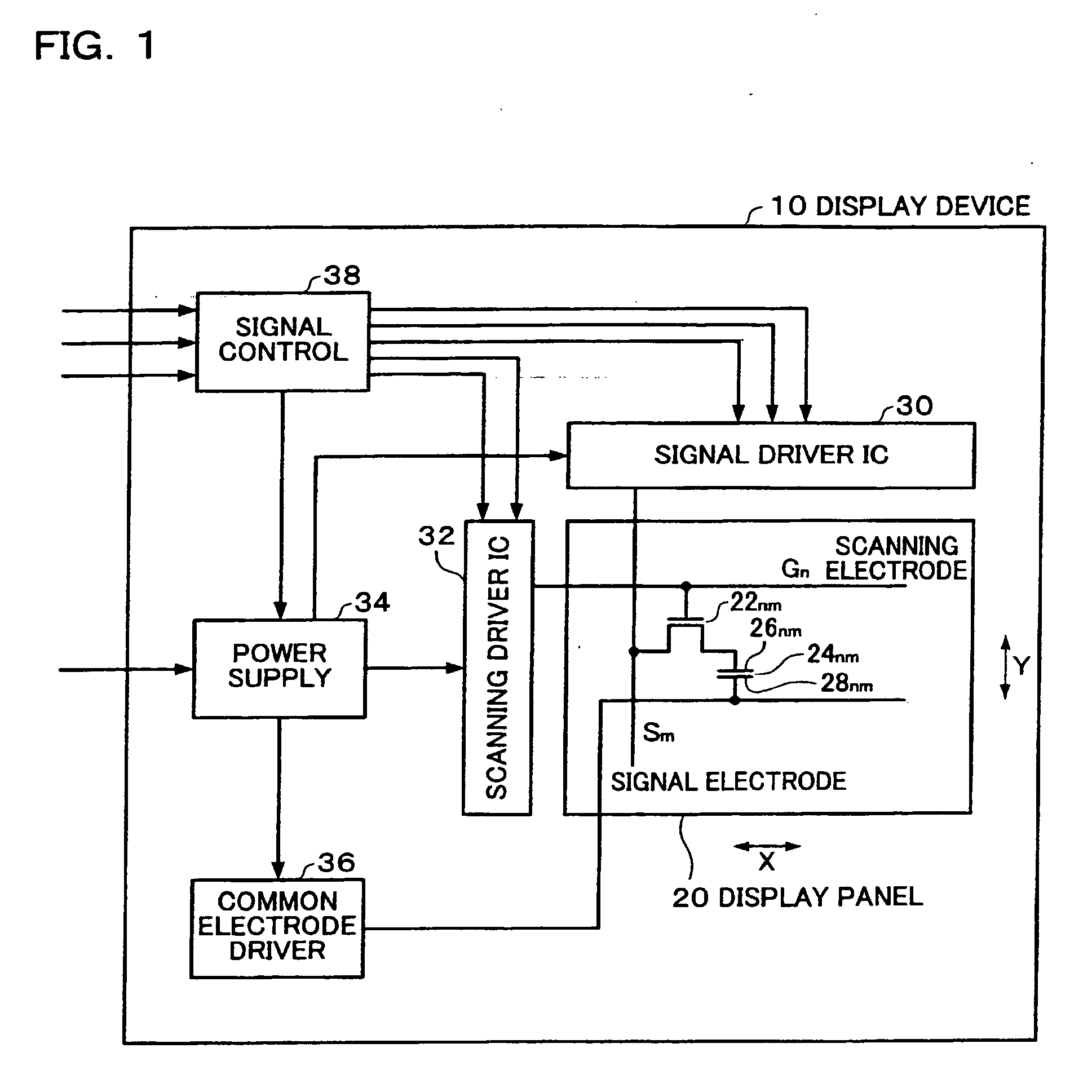
Reference voltage generation circuit and method, display driver circuit and liquid crystal display device
授权日
2009-04-29
公开(公告)号
EP1335347B1
申请日
2003-02-06
公开(公告)日
2009-04-29
当前申请(专利权)人
SEIKO EPSON CORPORATION
发明人
MORITA, AKIRA
简单同族
AT430357T | CN1254783C | CN1437086A | DE60327382D1 | EP1335347A1 | EP1335347B1 | JP2003233354A | JP3661650B2 | KR100536962B1 | KR1020030067576A | TW200302997A | TWI257600B | US20030151578A1 | US7071669
简单同族成员数量
14
简单同族被引用专利总数
117
诉讼案件数
0
法律状态/事件
权利终止
抱歉,您的浏览器不支持PDF预览,请点击链接下载PDF文件