专利数据库
统计分析
产业报告
专利数据监控
产业人才
行业动态
产业政策法规
维权援助
个人中心
详情
文本
图像
标题
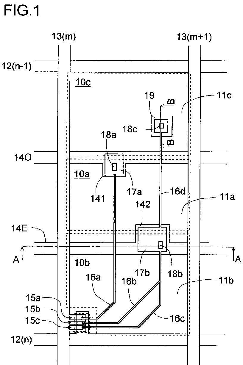
Liquid crystal display
授权日
1900-01-01
公开(公告)号
EP1798591A4
申请日
2005-10-04
公开(公告)日
2009-01-07
当前申请(专利权)人
SHARP KABUSHIKI KAISHA
发明人
TAKEUCHI, MASANORI | OHTSUBO, TOMOKAZU | TSUBATA, TOSHIHIDE
简单同族
CN100523923C | CN101036080A | CN101303495A | CN101303495B | CN101587274A | CN101587274B | CN101634787A | CN101634787B | EP1798591A1 | EP1798591A4 | EP1798591B1 | EP1978398A2 | EP1978398A3 | EP1978398B1 | EP2230551A2 | EP2230551A3 | JP4970041B2 | JPWO2006038598A1 | KR100900115B1 | KR100902705B1 | KR1020070056165A | KR1020080071203A | US20080122772A1 | US20090195488A1 | US8614658 | WO2006038598A1
简单同族成员数量
26
简单同族被引用专利总数
100
诉讼案件数
0
法律状态/事件
权利终止
抱歉,您的浏览器不支持PDF预览,请点击链接下载PDF文件