专利数据库
统计分析
产业报告
专利数据监控
产业人才
行业动态
产业政策法规
维权援助
个人中心
详情
文本
图像
标题
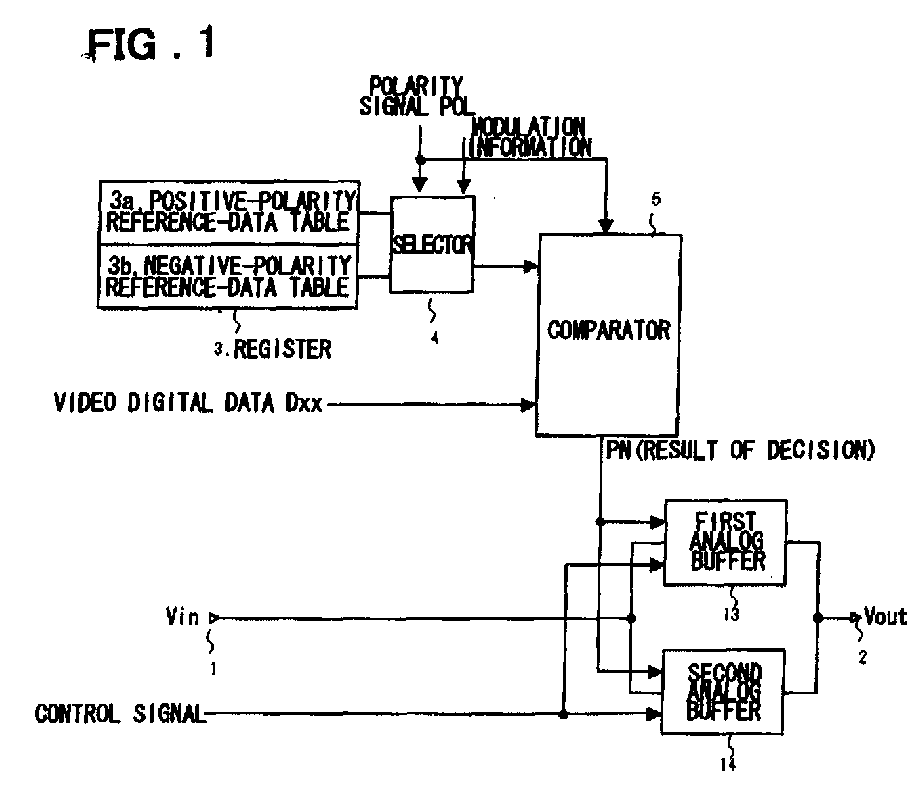
Driver circuit and liquid crystal display device
授权日
1900-01-01
公开(公告)号
EP1274068A3
申请日
2002-07-02
公开(公告)日
2009-03-11
当前申请(专利权)人
RENESAS ELECTRONICS CORPORATION
发明人
TSUCHI, HIROSHI | UCHIYAMA, YOSHINORI
简单同族
CN100550108C | CN1396580A | EP1274068A2 | EP1274068A3 | EP1274068B1 | JP2003022056A | JP3730886B2 | US20030006979A1 | US6909414
简单同族成员数量
9
简单同族被引用专利总数
134
诉讼案件数
0
法律状态/事件
权利终止 | 权利转移
抱歉,您的浏览器不支持PDF预览,请点击链接下载PDF文件