专利数据库
统计分析
产业报告
专利数据监控
产业人才
行业动态
产业政策法规
维权援助
个人中心
详情
文本
图像
标题
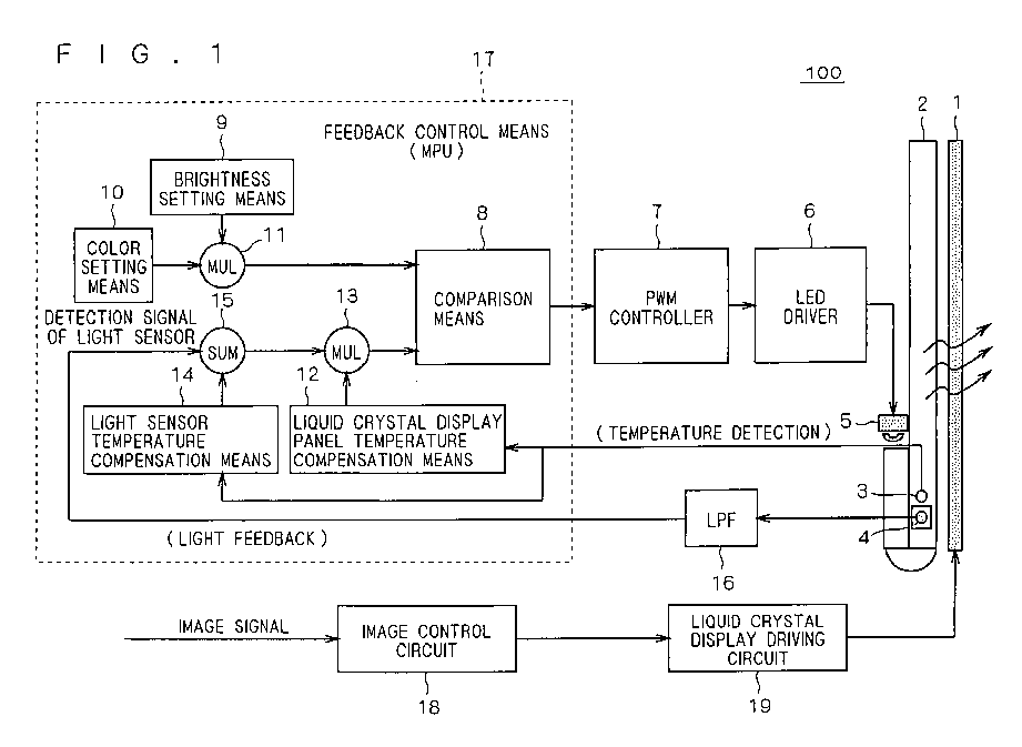
Liquid crystal display device
授权日
1900-01-01
公开(公告)号
EP1708164A3
申请日
2006-03-17
公开(公告)日
2008-07-16
当前申请(专利权)人
NEC DISPLAY SOLUTIONS LTD
发明人
TANIZOE, HIDEKI C/O NEC DISPLAY SOLUTIONS LTD. | KIMURA, TARO C/O NEC DISPLAY SOLUTIONS LTD. | UENO, HIROSHI C/O NEC DISPLAY SOLUTIONS LTD. | KATO, HIROSHI C/O NEC DISPLAY SOLUTIONS LTD.
简单同族
CN100422823C | CN1841161A | EP1708164A2 | EP1708164A3 | EP1708164B1 | JP2006276725A | JP4612452B2 | US20060221047A1 | US8363001
简单同族成员数量
9
简单同族被引用专利总数
146
诉讼案件数
0
法律状态/事件
权利终止
抱歉,您的浏览器不支持PDF预览,请点击链接下载PDF文件