专利数据库
统计分析
产业报告
专利数据监控
产业人才
行业动态
产业政策法规
维权援助
个人中心
详情
文本
图像
标题
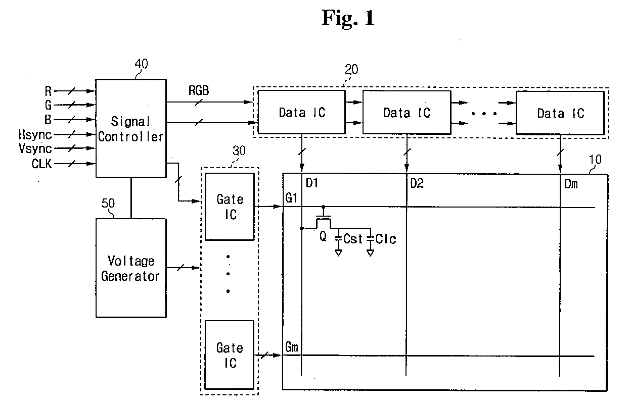
Liquid crystal display and driving method thereof
授权日
1900-01-01
公开(公告)号
EP1414013A3
申请日
2003-10-21
公开(公告)日
2005-10-26
当前申请(专利权)人
SAMSUNG ELECTRONICS CO., LTD.
发明人
PARK, JHEEN-HYEOK | KANG, SIN-GU | KANG, NAM-SOO | KIM, JI-HOON | HWANG, IN-YONG | SON, SUN-KYU | LEE, GYU-SU
简单同族
CN100543523C | CN1510466A | EP1414013A2 | EP1414013A3 | JP2004145340A | JP4982028B2 | KR100900539B1 | KR1020040034113A | TW200414096A | TWI359401B | US20040135757A1 | US7289095
简单同族成员数量
12
简单同族被引用专利总数
75
诉讼案件数
0
法律状态/事件
驳回 | 权利转移
抱歉,您的浏览器不支持PDF预览,请点击链接下载PDF文件