专利数据库
统计分析
产业报告
专利数据监控
产业人才
行业动态
产业政策法规
维权援助
个人中心
详情
文本
图像
标题
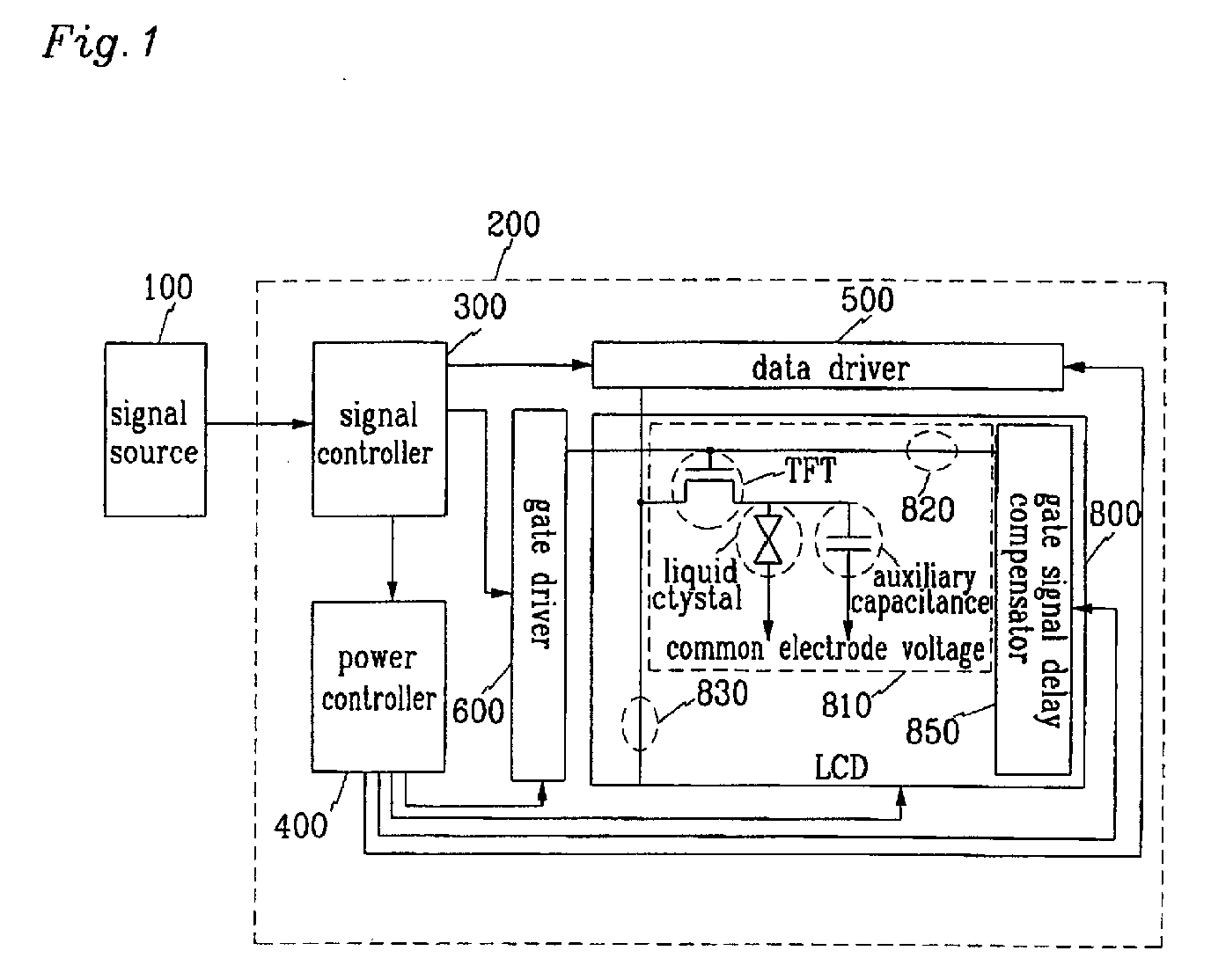
Gate signal delay compensating lcd and driving method thereof
授权日
1900-01-01
公开(公告)号
EP1223571A2
申请日
2001-11-05
公开(公告)日
2002-07-17
当前申请(专利权)人
SAMSUNG DISPLAY CO., LTD.
发明人
PARK, HAENG-WON | LEE, JUNG-HEE
简单同族
CN100369098C | CN1363919A | EP1223571A2 | EP1223571A3 | JP2002236280A | JP4790926B2 | KR100796787B1 | KR1020020057408A | TWI240236B | US20020084968A1 | US7133034
简单同族成员数量
11
简单同族被引用专利总数
86
诉讼案件数
0
法律状态/事件
驳回 | 权利转移
抱歉,您的浏览器不支持PDF预览,请点击链接下载PDF文件