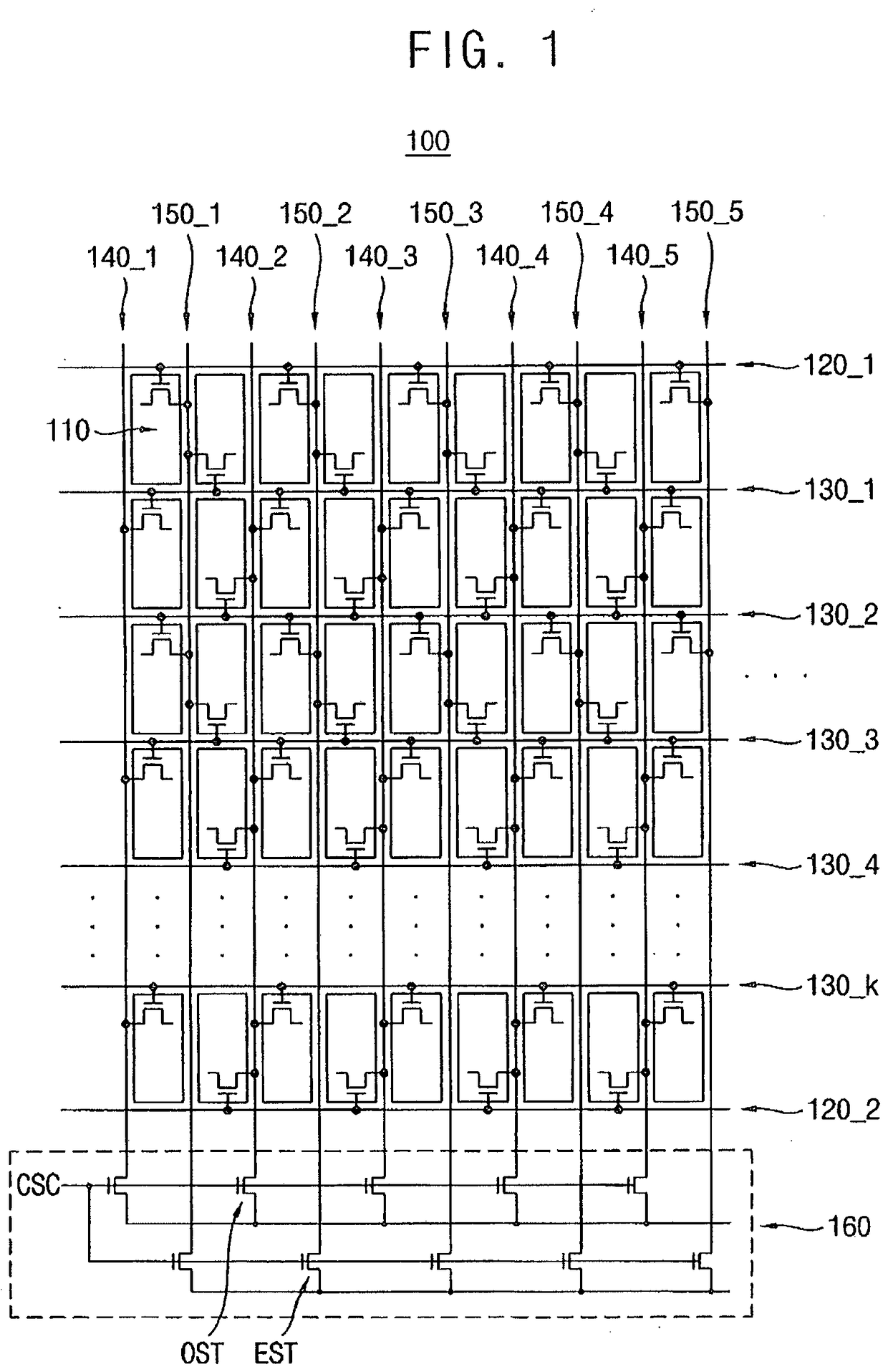
Active matrix liquid crystal display panel with coupling of gate lines and data lines to pixels which reduces crosstalk and power consumption, and method of driving the same
授权日
2017-08-09
公开(公告)号
EP2447935B1
申请日
2011-06-23
公开(公告)日
2017-08-09
当前申请(专利权)人
SAMSUNG DISPLAY CO., LTD.
发明人
LEE, SEUNG-KYU | LEE, DONG-HOON | KIM, CHUL-HO | PARK, JIN-WOO